| № | Наименование | Примечание | Кол-во |
|---|---|---|---|
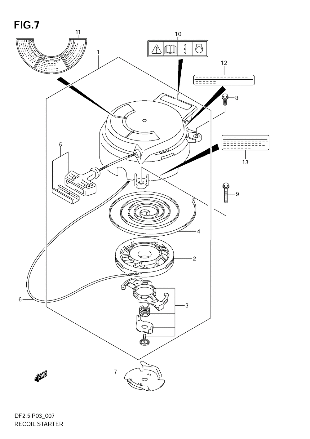
| 1-1 | STARTER ASSY R | 1 | |
| 1-2 | STARTER ASSY R (MODEL:10) | 1 | |
| 1-4 | STARTER ASSY R (110001~) | 1 | |
| 2 | REEL | 1 | |
| 3 | RATCHET SET | 1 | |
| 4 | SPRINGRECOIL | 1 | |
| 5 | GRIP SET | 1 | |
| 6 | STARTER ROPE 4M (OPTL:50000->1200) | 1 | |
| 7-1 | Детать | 1 | |
| 8 | BOLT | 1 | |
| 9 | BOLT | 2 | |
| 10 | LABELS.I.G.P | 1 | |
| 11 | LABELRECOIL ST (<-61472-94J00) | 1 | |
| 12 | Детать | 1 | |
| 13 | Детать | 1 |
