| № | Наименование | Примечание | Кол-во |
|---|---|---|---|
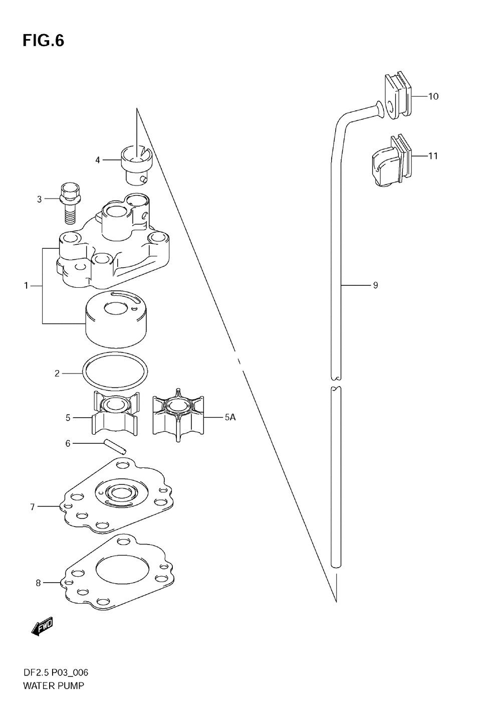
| 1 | CASE COMPWATER | 1 | |
| 2 | O-RING D:1.91D | 1 | |
| 3 | BOLT(6X30) | 4 | |
| 4 | GROMMETWATER P | 1 | |
| 5 | IMPELLERWATER (MODEL:06~08 ->17461-97J10 ) | 1 | |
| 5A-1 | IMPELLERWATER | 1 | |
| 5A-2 | IMPELLERWATER (110001~) | 1 | |
| 6 | PIN | 1 | |
| 7 | PANELPUMP CASE | 1 | |
| 8 | GASKETPUMP CAS | 1 | |
| 9-1 | TUBEWATER(S) | 1 | |
| 9-2 | TUBEWATER(S) (MODEL:09~) | 1 | |
| 10 | GROMMETWATER T (MODEL:06~08) | 1 | |
| 11 | GROMMETWATER T | 1 |
