| № | Наименование | Примечание | Кол-во |
|---|---|---|---|
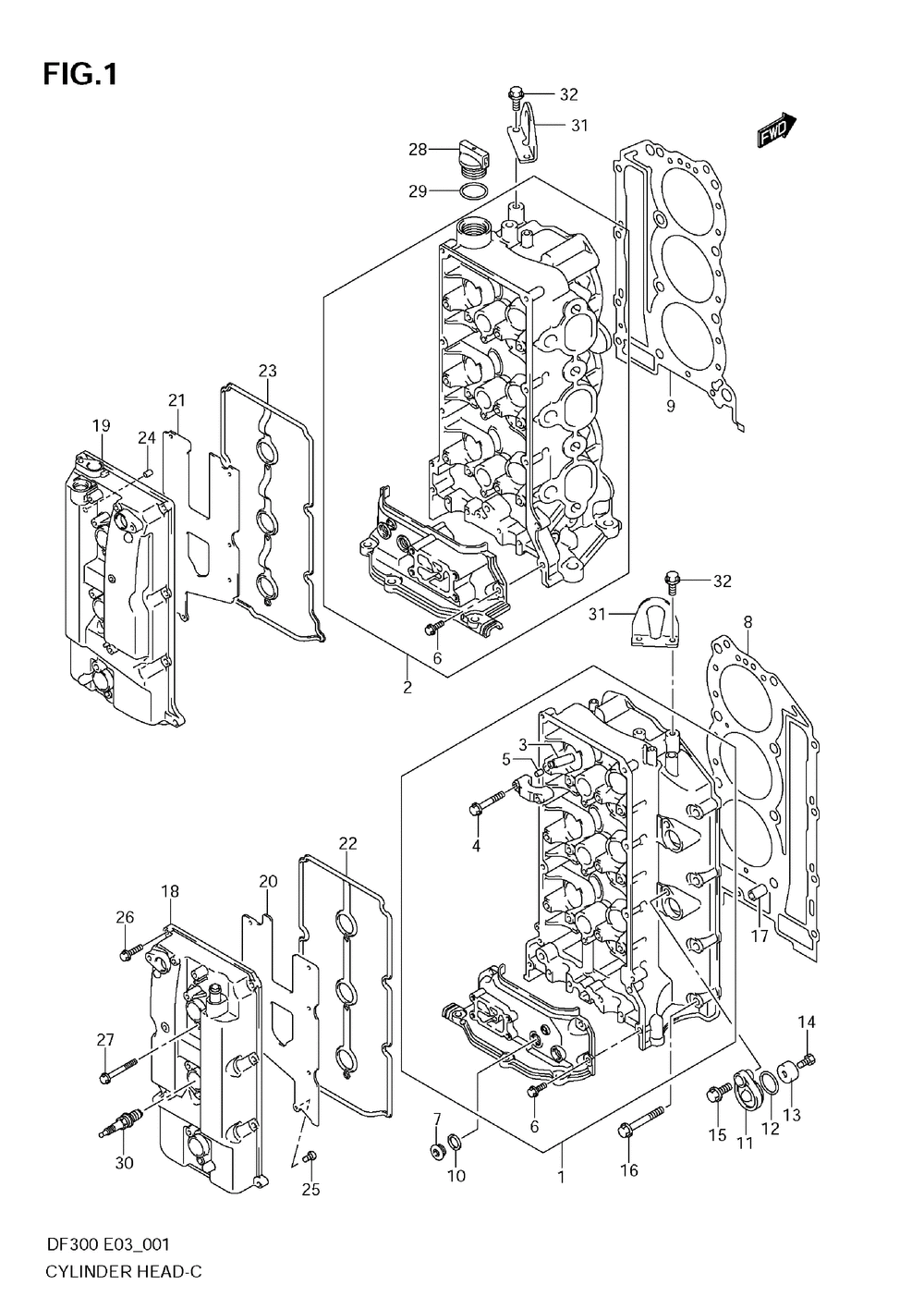
| 1 | HEAD ASSYCYLIN (DF250S) | 1 | |
| 2 | HEAD ASSYCYLDR (DF250S) | 1 | |
| 3 | GUIDEVALVE OS | 24 | |
| 4 | BOLTCAMSHAFT H | 32 | |
| 5 | COVER DOWEL PIN | 28 | |
| 6 | BOLT | 6 | |
| 7 | PLUG | 4 | |
| 8-1 | GASKETCYLINDER (DF250S) | 1 | |
| 9-1 | GASKETCYLINDER (DF250S) | 1 | |
| 10 | GASKET 16X22X0. | 4 | |
| 11 | COVERPROTCTION | 4 | |
| 12 | O-RINGD:1.9ID | 4 | |
| 13 | ANODEPROTECTIO (DF140T:421160~ DF140Z:421015~ ) | 4 | |
| 14 | BOLTPROTECTION | 4 | |
| 15 | BOLT | 4 | |
| 16-1 | BOLT | 5 | |
| 17 | PIN | 4 | |
| 18 | Детать | 1 | |
| 19 | COVERCYLINDER | 1 | |
| 20 | Детать | 1 | |
| 21 | Детать | 1 | |
| 22 | GASKETCYL HEAD | 1 | |
| 23 | GASKETCYL HEAD | 1 | |
| 25 | SCREW | 14 | |
| 26 | BOLT 6X25 | 16 | |
| 27 | BOLT 6 X 50 | 6 | |
| 28 | CAPOIL FILLER | 1 | |
| 29 | O RING D:3.1 ID | 1 | |
| 30 | Свеча зажигания | 6 | |
| 31 | HOOKENGINE | 2 |
