| № | Наименование | Примечание | Кол-во |
|---|---|---|---|
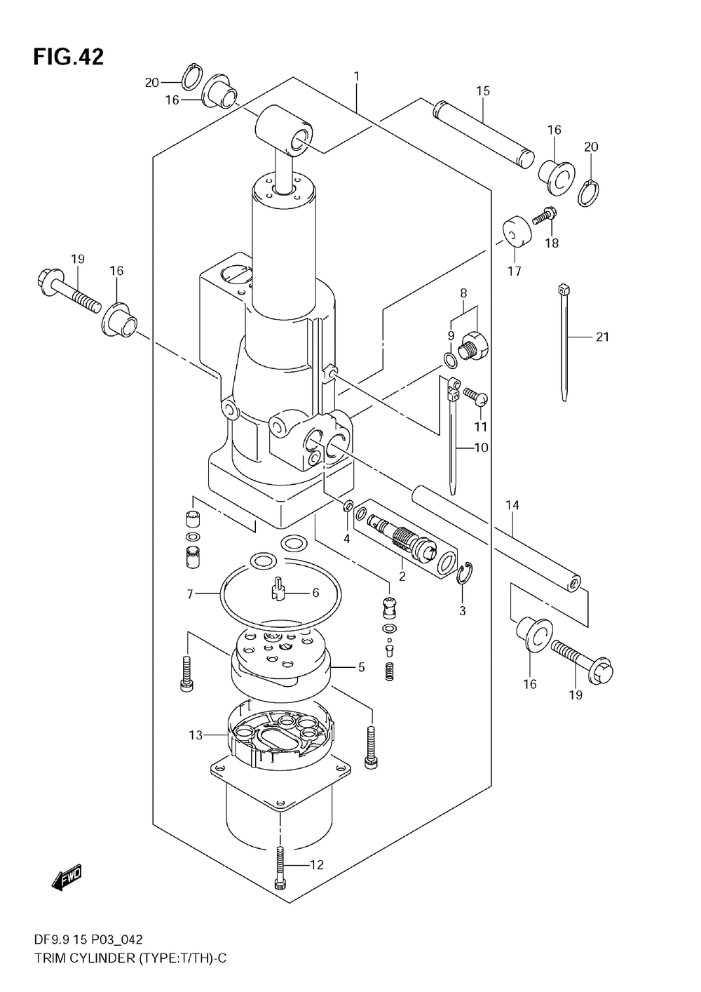
| 1 | POWER TILT ASSY | 1 | |
| 2 | MANUAL VALVE | 1 | |
| 3 | CIRCLIP | 1 | |
| 4 | SEAL WASHER | 1 | |
| 5 | PUMP ASSYGEAR | 1 | |
| 6 | JOINT DRIVE | 1 | |
| 7 | O-RING | 1 | |
| 8 | CAP | 1 | |
| 9 | RING | 1 | |
| 10 | BAND | 1 | |
| 11 | SCREW | 1 | |
| 12 | BOLT | 2 | |
| 13 | Детать | 1 | |
| 14 | SHAFTTILT CYL | 1 | |
| 15 | SHAFTTILT CYL | 1 | |
| 16 | BUSHTILT CYL U | 4 | |
| 17 | ANODEPROTECTIO (DF140T:421160~ DF140Z:421015~ ) | 1 | |
| 18 | BOLTPROTECTION | 1 | |
| 19 | BOLT8X30 | 2 | |
| 20 | SNAP RING | 2 | |
| 21 | CLAMP (L:145) | 2 |
