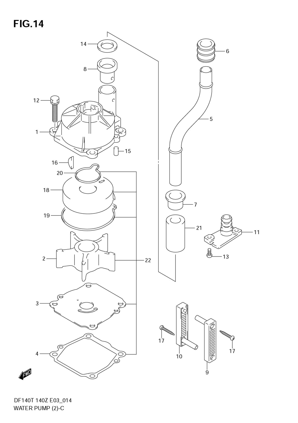
WATER PUMP (DF140T:682149~

Корзина пуста