| № | Наименование | Примечание | Кол-во |
|---|---|---|---|
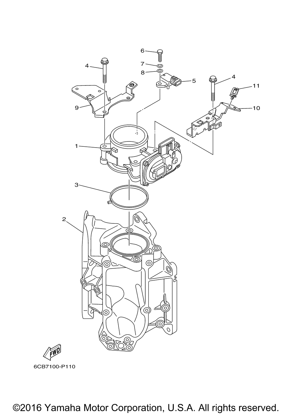
| 1 | BODY THROTTLE 1 | 1 | |
| 2 | MIXING BODY | 1 | |
| 3 | GASKET MANIFOLD | 1 | |
| 4 | BOLT FLANGE | 4 | |
| 5 | SENSOR PRESSURE | 1 | |
| 6 | BOLT(7U8) (5 per pack) | 1 | |
| 7 | WASHER (5 per pack) | 1 | |
| 8 | WASHER (5 per pack) | 1 | |
| 9 | HOLDER | 1 | |
| 10 | HOLDER | 1 | |
| 11 | CLAMP | 1 |
| Корзина пуста |
| № | Наименование | Примечание | Кол-во |
|---|---|---|---|
| 1 | BODY THROTTLE 1 | 1 | |
| 2 | MIXING BODY | 1 | |
| 3 | GASKET MANIFOLD | 1 | |
| 4 | BOLT FLANGE | 4 | |
| 5 | SENSOR PRESSURE | 1 | |
| 6 | BOLT(7U8) (5 per pack) | 1 | |
| 7 | WASHER (5 per pack) | 1 | |
| 8 | WASHER (5 per pack) | 1 | |
| 9 | HOLDER | 1 | |
| 10 | HOLDER | 1 | |
| 11 | CLAMP | 1 |