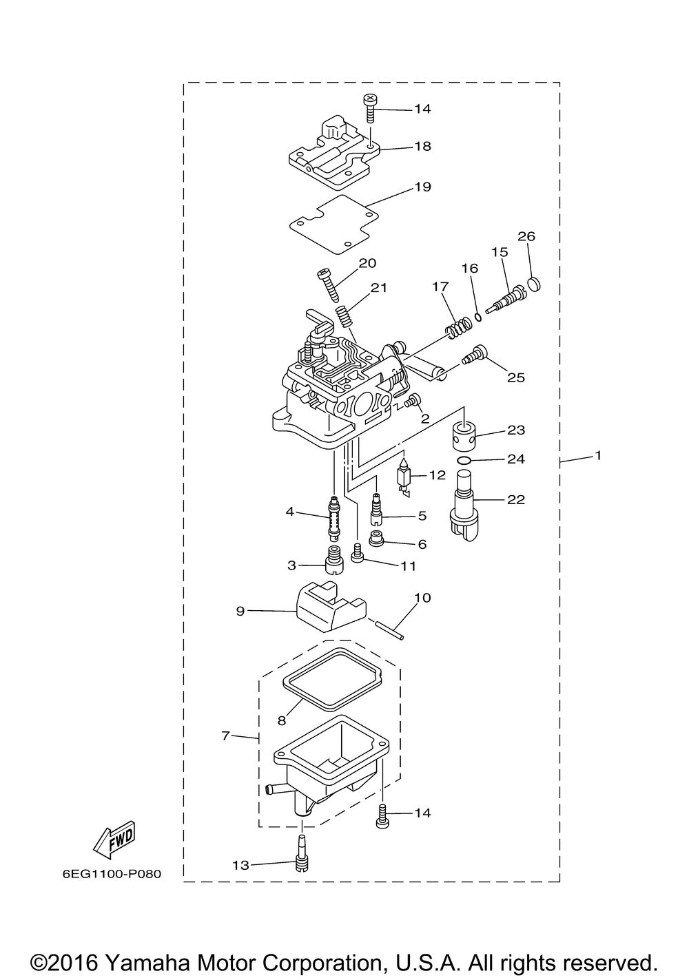
| № | Наименование | Примечание | Кол-во |
|---|---|---|---|
| 1 | CARBURETOR ASSY 1 | 1 | |
| 2 | SCREWPAN HEAD | 1 | |
| 3 | JET MAIN (tahos_61) (tahos_61) | 1 | |
| 4 | NOZZLE MAIN | 1 | |
| 5 | JET PILOT (tahos_37) (tahos_37) | 1 | |
| 6 | BUSH | 1 | |
| 7 | BODY FLOAT CHAMBER | 1 | |
| 8 | GASKET FLOAT CHAMBE | 1 | |
| 9 | FLOAT | 1 | |
| 10 | PIN FLOAT | 1 | |
| 11 | SCREW PAN HEAD (5 per pack) | 1 | |
| 12 | VALVENEEDLE | 1 | |
| 13 | SCREW | 1 | |
| 14 | SCREWPAN HEAD | 5 | |
| 15 | SCREW AIR ADJUSTING | 1 | |
| 16 | O RING | 1 | |
| 17 | SPRING AIR ADJUSTIN | 1 | |
| 18 | PLATE | 1 | |
| 19 | GASKET | 1 | |
| 20 | . .SCREW THROTTLE | 1 | |
| 21 | . .SPRING PILOT ADJUSTING | 1 | |
| 22 | LEVER COCK | 1 | |
| 23 | VALVE | 1 | |
| 24 | O-RING | 1 | |
| 25 | SCREW LEVER FITTING | 1 | |
| 26 | PLUG | 1 |
