| № | Наименование | Примечание | Кол-во |
|---|---|---|---|
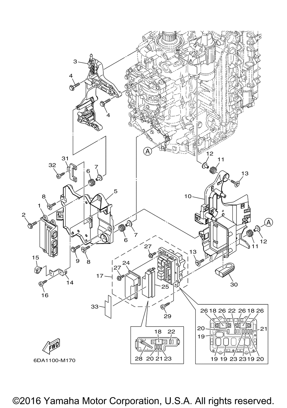
| 1 | ENGINE CONTROL UNIT ASSY | 1 | |
| 2 | BOLT | 4 | |
| 3 | BRACKET UNIT | 1 | |
| 4 | BOLT FLANGE | 4 | |
| 5 | BRACKET | 1 | |
| 6 | SPACER | 3 | |
| 7 | COLLAR | 3 | |
| 8 | BOLT | 3 | |
| 9 | BOLT | 2 | |
| 10 | HOLDER RELAY | 1 | |
| 14 | HOLDER | 1 | |
| 15 | CLAMP (5 per pack) | 1 | |
| 16 | SCREWTAPPING | 1 | |
| 17 | FUSE BOX ASSY | 1 | |
| 18 | . .FUSE (60A) | 3 | |
| 19 | RELAY ASSY | 4 | |
| 20 | FUSE (10A) (10A-BL) | 3 | |
| 21 | FUSE (15A) (15A-BL) | 2 | |
| 22 | FUSE (20A-BL) (20A) | 2 | |
| 23 | FUSE (30A) | 3 | |
| 24 | COVER | 1 | |
| 25 | CASE | 1 | |
| 26 | SCREW PAN HEAD (M5) (M5) | 4 | |
| 27 | SCREW | 13 | |
| 28 | PULLER FUSE | 1 | |
| 29 | SCREW TAPPING | 4 | |
| 30 | GROMMET | 1 | |
| 31 | PLATE CONNECTOR | 1 | |
| 33 | GRAPHIC REGULATOR | 1 |
