| № | Наименование | Примечание | Кол-во |
|---|---|---|---|
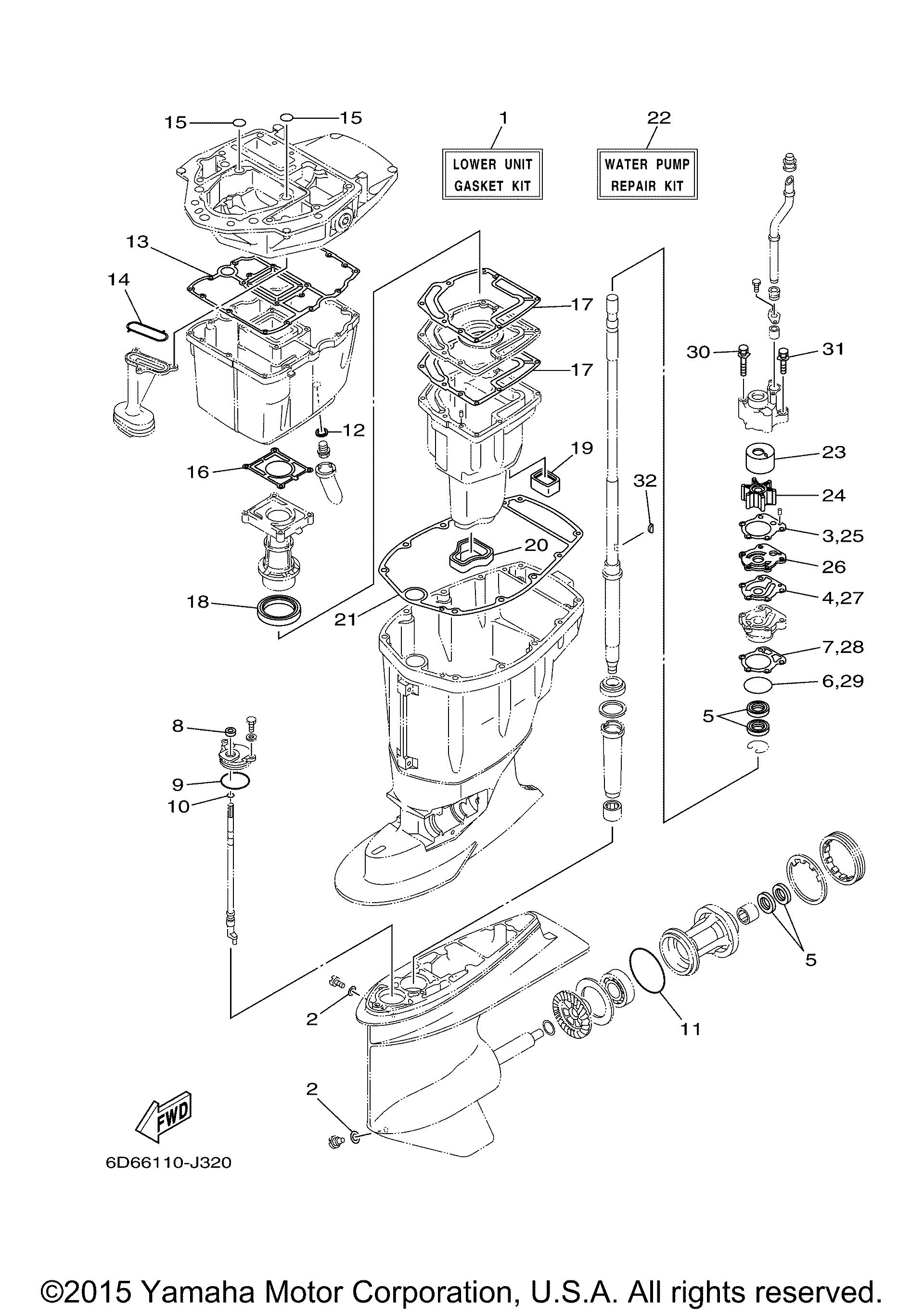
| 1 | GASKET KIT | 1 | |
| 2 | GASKET (USA) | 2 | |
| 3 | GASKETWATER PUMP | 1 | |
| 4 | GASKET CARTRIDGE | 1 | |
| 5 | . .OIL SEAL | 4 | |
| 6 | O-RING (5 per pack) | 1 | |
| 7 | . .GASKET WATER PUMP | 1 | |
| 8 | OIL SEALDD-TYPE | 1 | |
| 9 | O-RING | 1 | |
| 10 | O-RING | 1 | |
| 11 | O-RING | 1 | |
| 12 | GASKET | 1 | |
| 13 | GASKET OIL PAN | 1 | |
| 14 | SEAL OIL STRAINER | 1 | |
| 15 | O-RING (5 per pack) | 2 | |
| 16 | GASKET EXHAUST MANI | 1 | |
| 17 | GASKET EXHAUST MANI | 2 | |
| 18 | SEAL EXT. 1 | 1 | |
| 19 | SEAL | 1 | |
| 20 | GASKET MUFFLER | 1 | |
| 21 | GASKET UPPER CASING | 1 | |
| 22 | WATER PUMP REPAIR KI | 1 | |
| 23 | INSERT CARTRIDGE | 1 | |
| 24 | IMPELLER | 1 | |
| 26 | ПЛАСТИНА МЕТАЛЛИЧЕСКАЯ (OUTER PLATE, CARTRIDGE) (10216170/260618/0063090, ЯПОНИЯ) | 1 | |
| 30 | BOLT WITH WASHER | 2 | |
| 31 | BOLT W/WASHER | 2 | |
| 32 | KEYWOODRUFF | 1 |
