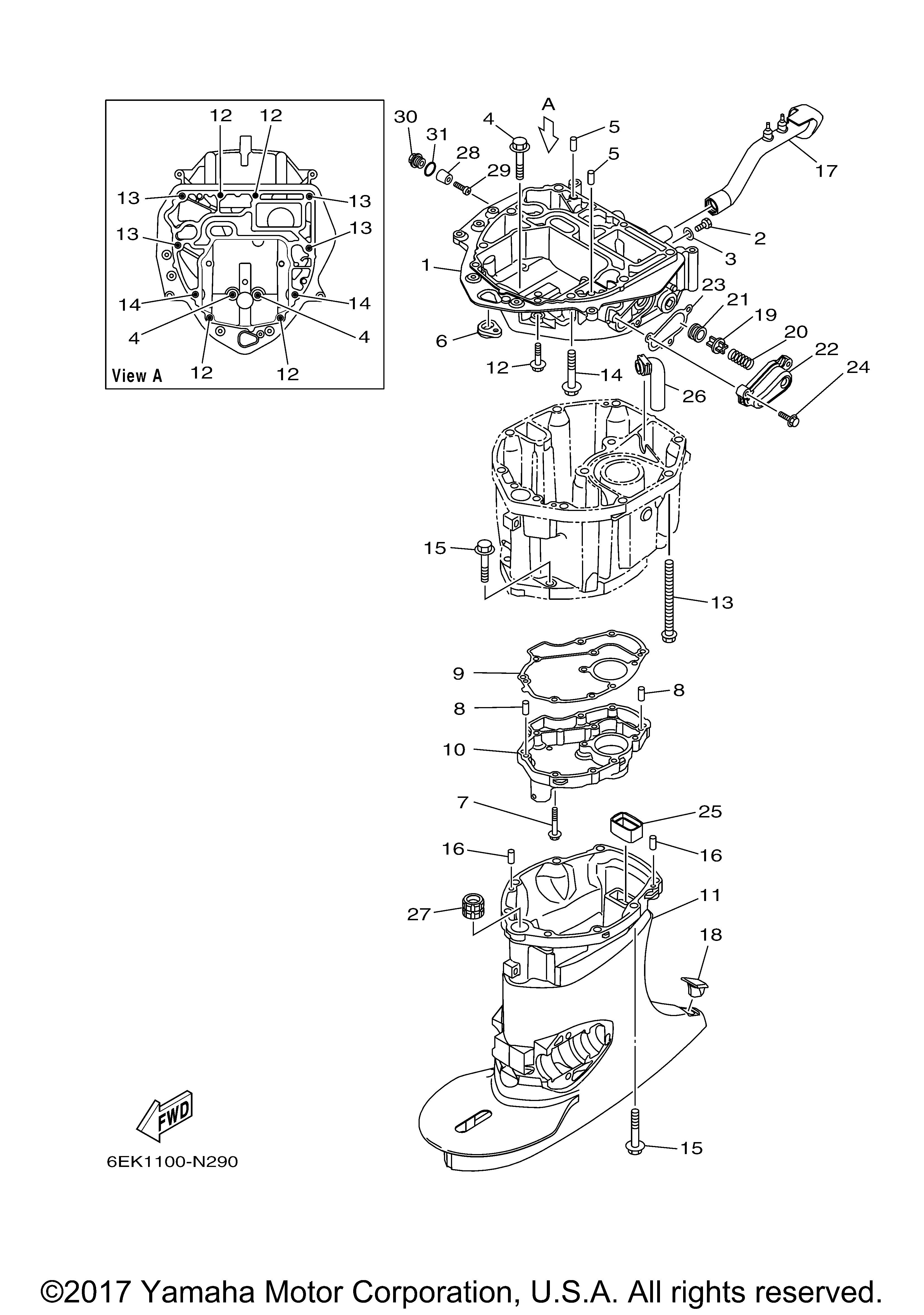
| № | Наименование | Примечание | Кол-во |
|---|---|---|---|
| 1 | GUIDE EXHAUST | 1 | |
| 2 | BOLT | 1 | |
| 3 | GASKET | 1 | |
| 4 | BOLT WITH WASHER | 2 | |
| 5 | PINDOWEL (5 per pack) | 2 | |
| 6 | GROMMET | 1 | |
| 7 | BOLT | 11 | |
| 8 | PINDOWEL (USA) (5 per pack) | 2 | |
| 9 | GASKET EXHAUST MANI | 1 | |
| 10 | PLATE | 1 | |
| 11 | CASING UPPER X(25.3") | 1 | |
| 12 | BOLT W/WASHER | 4 | |
| 13 | BOLT WITH WASHER | 4 | |
| 17 | SEAL RUBBER | 1 | |
| 18 | CAP | 1 | |
| 19 | VALVE PRESSURE CONT | 1 | |
| 20 | SPRING COMPRESSION | 1 | |
| 21 | GROMMET | 1 | |
| 22 | COVER 1 | 1 | |
| 23 | GASKET | 1 | |
| 24 | BOLT | 3 | |
| 25 | SEAL | 1 | |
| 26 | PIPE | 1 | |
| 27 | BUSHING DRIVE SHAFT X(25.3") | 1 | |
| 28 | ANODE | 1 | |
| 29 | SCREW BIND | 1 | |
| 30 | PLUG BLIND | 1 | |
| 31 | O-RING (5 per pack) | 1 |
