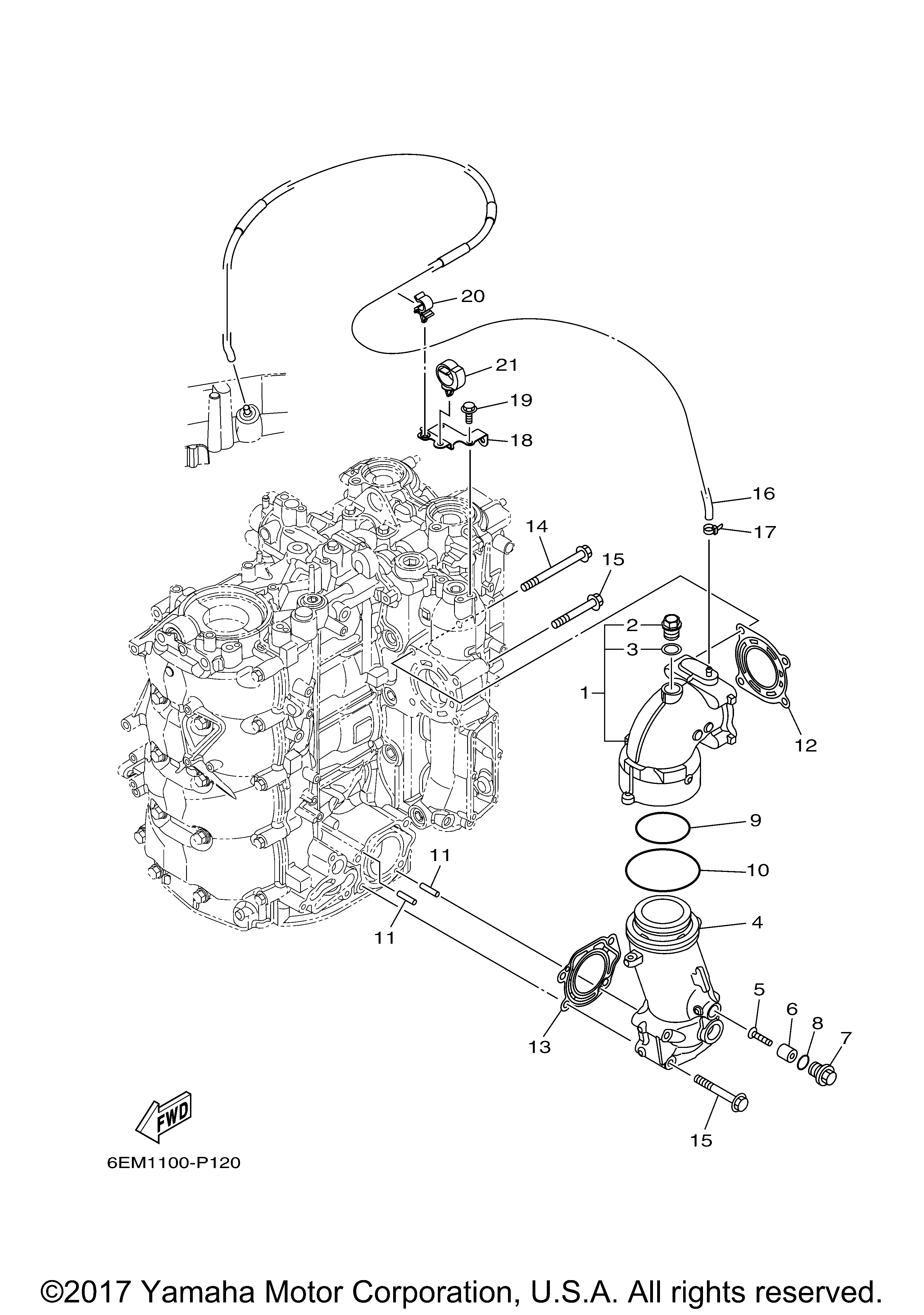
| № | Наименование | Примечание | Кол-во |
|---|---|---|---|
| 1 | JOINT EXHAUST 1 | 1 | |
| 2 | PLUG STRAIGHT SCR | 1 | |
| 3 | WASHERPLATE | 1 | |
| 4 | JOINT EXHAUST 2 | 1 | |
| 5 | SCREWFLAT HEAD (10 per pack) | 1 | |
| 6 | ANODE | 1 | |
| 7 | PLUG BLIND | 1 | |
| 8 | O-RING (5 per pack) | 1 | |
| 9 | O-RING | 1 | |
| 10 | O-RING | 1 | |
| 11 | PIN SPRING | 2 | |
| 12 | GASKET EXHAUST OUTE | 1 | |
| 13 | GASKET EXHAUST OUTE | 1 | |
| 14 | BOLT FLANGE | 2 | |
| 15 | BOLT FLANGE | 6 | |
| 16 | PIPE | 1 | |
| 17 | CLAMP | 1 | |
| 18 | PLATE 3 | 1 | |
| 19 | BOLT | 2 | |
| 20 | CLAMP | 1 | |
| 21 | CLAMP(JN2) | 1 |
