| № | Наименование | Примечание | Кол-во |
|---|---|---|---|
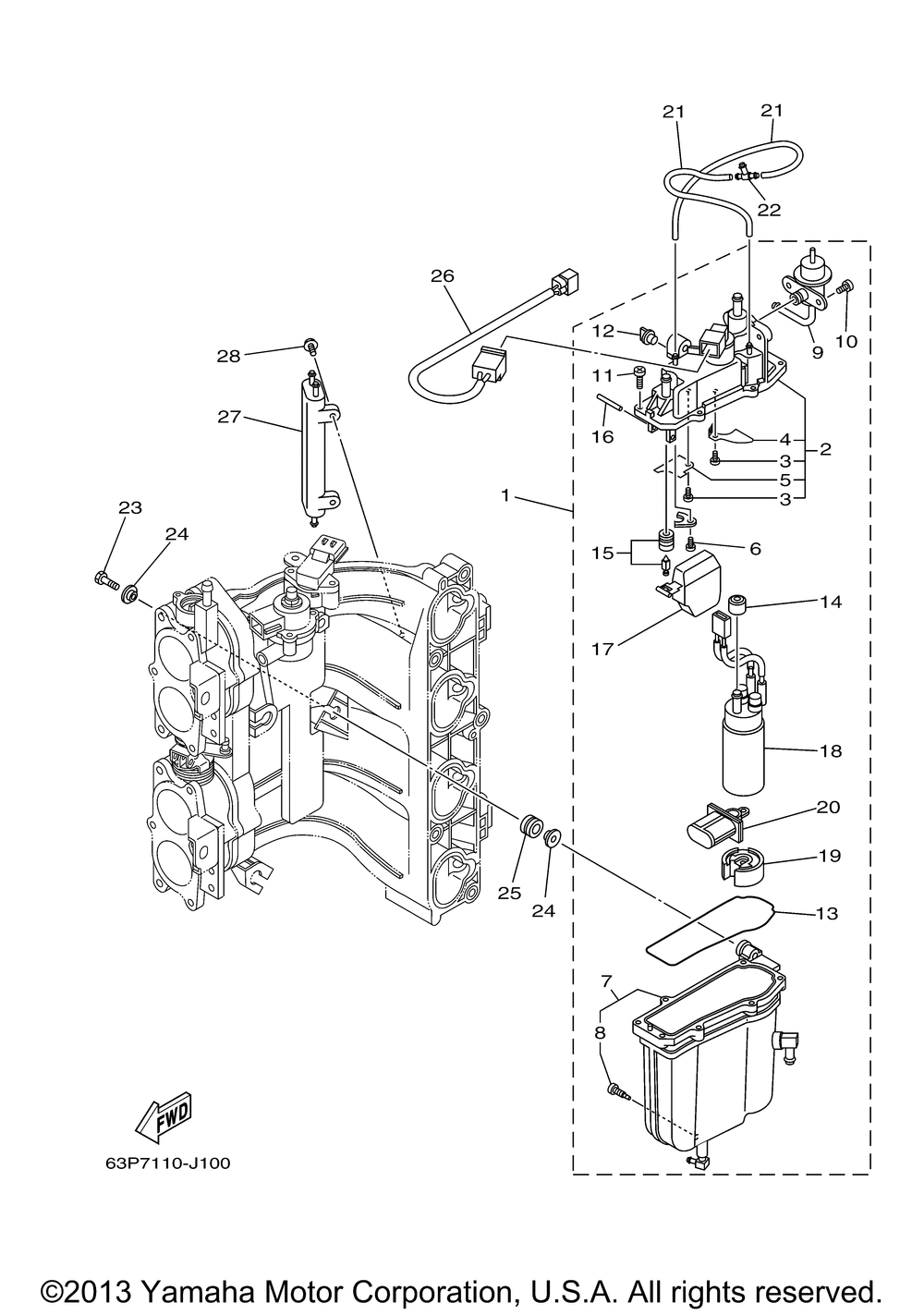
| 1 | FLOAT CHAMBER ASSY | 1 | |
| 2 | COVER FLOAT CHAMBER | 1 | |
| 3 | SCREW | 2 | |
| 4 | PLATE 1 | 1 | |
| 5 | PLATE 2 | 1 | |
| 7 | BODY FLOAT CHAMBER | 1 | |
| 8 | PLUG DRAIN | 1 | |
| 9 | REGULATOR PRESSURE | 1 | |
| 10 | SCREW | 2 | |
| 11 | SCREW | 7 | |
| 12 | CAP | 1 | |
| 13 | GASKET FLOAT CHAMBE | 1 | |
| 14 | GROMMET & COLLAR SET | 1 | |
| 15 | VALVE NEEDLE | 1 | |
| 16 | PIN FLOAT | 1 | |
| 17 | FLOAT | 1 | |
| 18 | FUEL PUMP COMP. | 1 | |
| 19 | COVER PUMP | 1 | |
| 20 | FILTER | 1 | |
| 21 | PIPE | 2 | |
| 22 | . .PIPE JOINT 4 | 1 | |
| 23 | BOLT | 3 | |
| 24 | COLLAR | 6 | |
| 25 | DAMPER | 3 | |
| 26 | WIRE HARNESS ASSY 1 | 1 | |
| 27 | COOLER | 1 | |
| 28 | BOLT | 2 |
