| № | Наименование | Примечание | Кол-во |
|---|---|---|---|
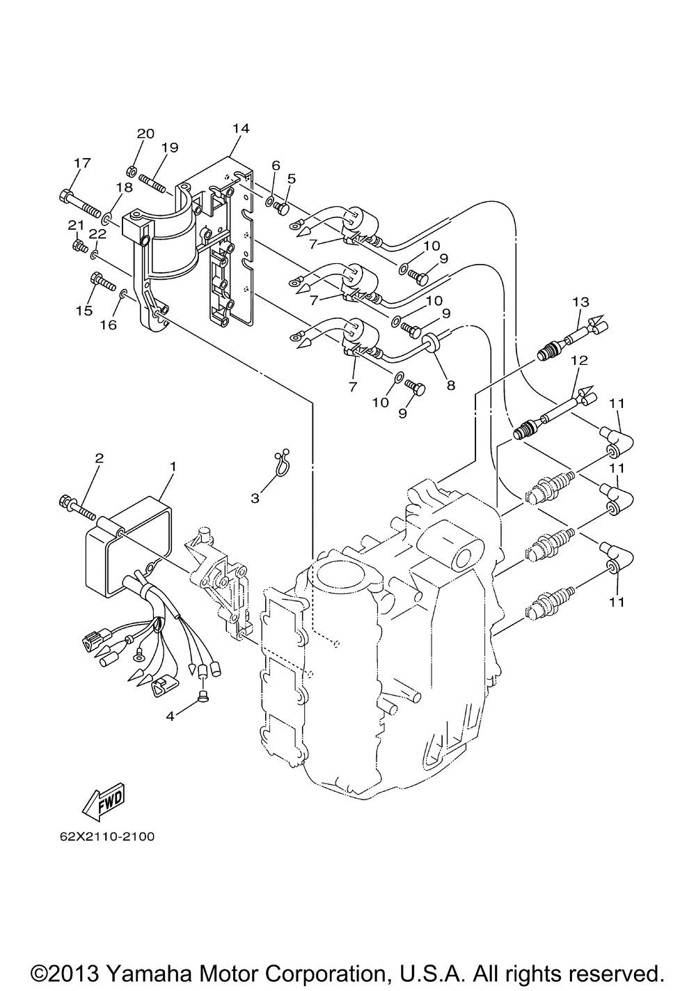
| 1 | C.D.I. UNIT ASSY | 1 | |
| 2 | BOLT W/WASHER | 2 | |
| 3 | CLAMP | 1 | |
| 4 | COVERLEAD WIRE | 1 | |
| 5 | BOLT | 1 | |
| 6 | WASHER (5 per pack) | 1 | |
| 7 | IGNITION COIL ASY | 3 | |
| 8 | GROMMET | 1 | |
| 9 | BOLT HEXAGON | 3 | |
| 11 | PLUG CAP ASY | 3 | |
| 12 | THERMO SWITCH ASSY | 1 | |
| 13 | THERMO SWITCH ASSY | 1 | |
| 14 | BRACKETSTRTG MTR | 1 | |
| 15 | BOLT | 4 | |
| 17 | Bolt, Hexagon | 1 | |
| 18 | WASHER (5 per pack) | 1 | |
| 19 | BOLT STUD | 1 | |
| 20 | . ..NUT | 1 |
