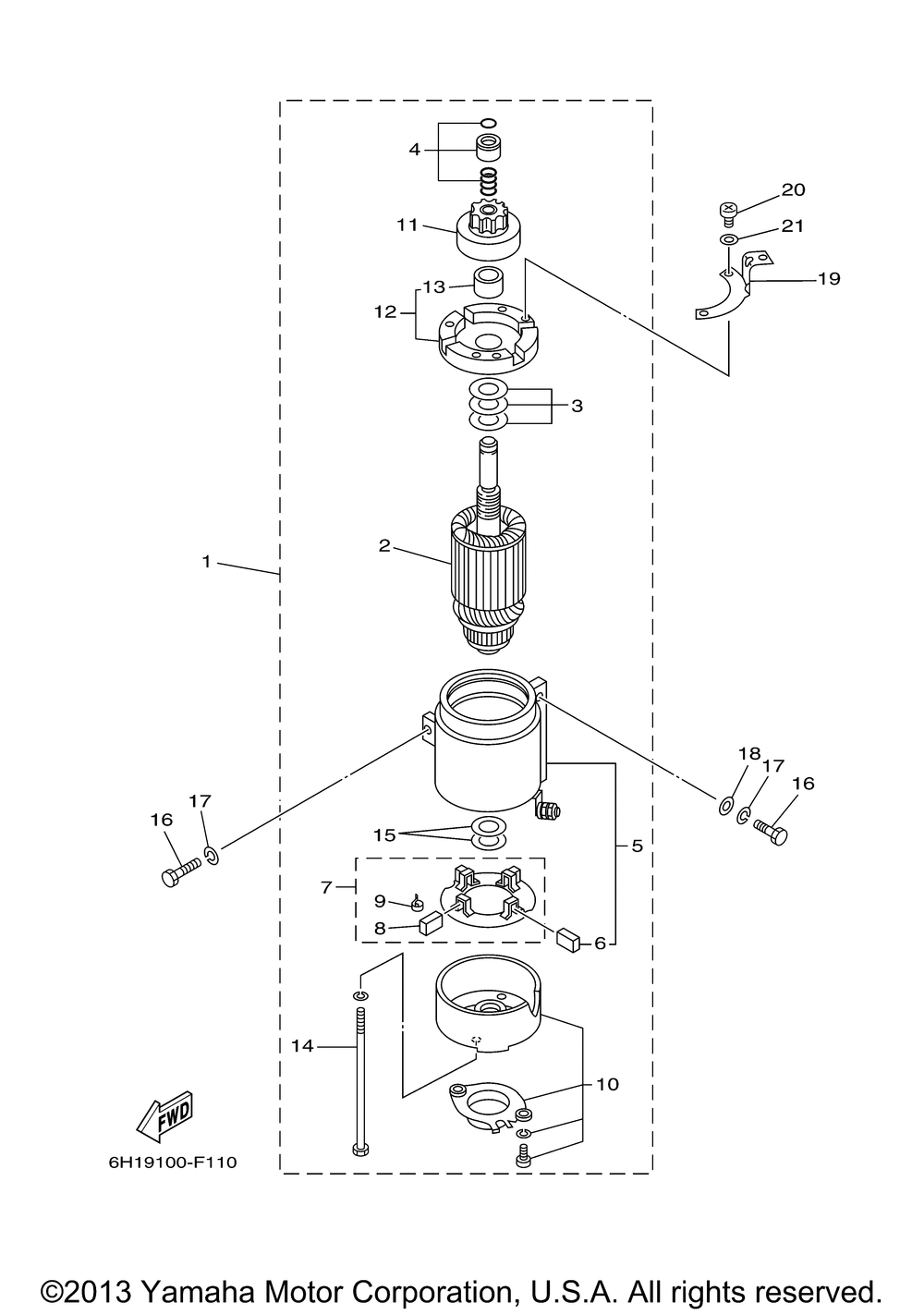
| № | Наименование | Примечание | Кол-во |
|---|---|---|---|
| 1 | STARTING MOTOR ASY | 1 | |
| 2 | ARMATURE ASY | 1 | |
| 3 | WASHER KIT | 1 | |
| 4 | RETAINER | 1 | |
| 5 | STATOR ASSY | 1 | |
| 6 | BRUSH 1 | 2 | |
| 7 | BRUSH HOLDER ASSY | 1 | |
| 8 | BRUSH 2 | 2 | |
| 9 | SPRINGBRUSH | 4 | |
| 10 | REAR BRACKET ASY | 1 | |
| 11 | CLUTCHOVER RUN | 1 | |
| 12 | FRONT BRACKET ASSY | 1 | |
| 13 | METAL FRONT | 1 | |
| 14 | BOLT | 2 | |
| 15 | WASHER 2 | 2 | |
| 16 | BOLT (661) | 3 | |
| 17 | WASHERSPRING | 3 | |
| 18 | WASHER (5 per pack) | 2 | |
| 19 | STAY 1 | 1 | |
| 20 | SCREWPAN HEAD | 3 | |
| 21 | WASHER | 3 |
