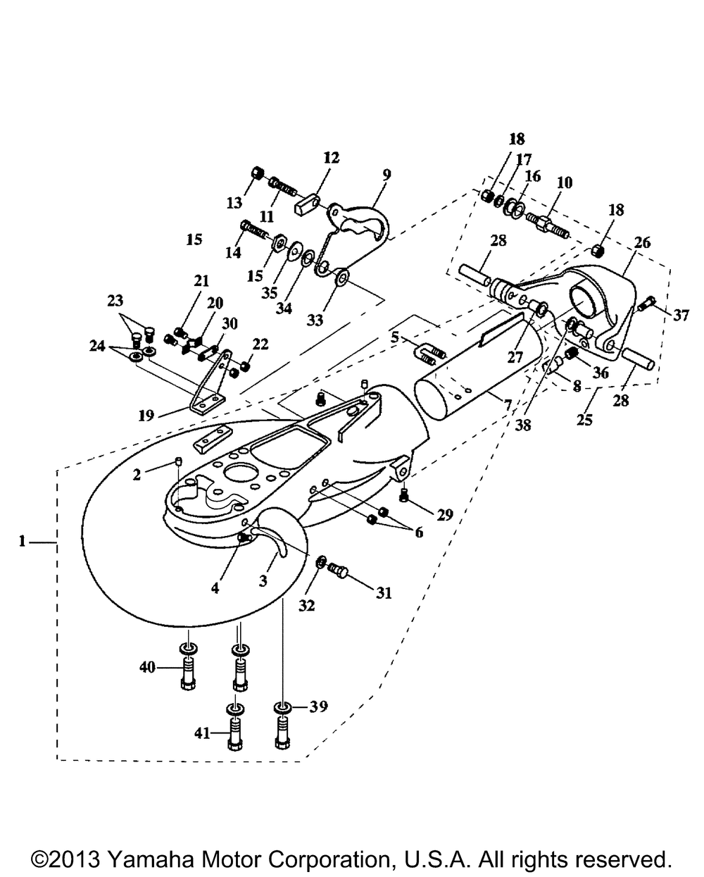
MAIN HOUSING F60

Корзина пуста