| № | Наименование | Примечание | Кол-во |
|---|---|---|---|
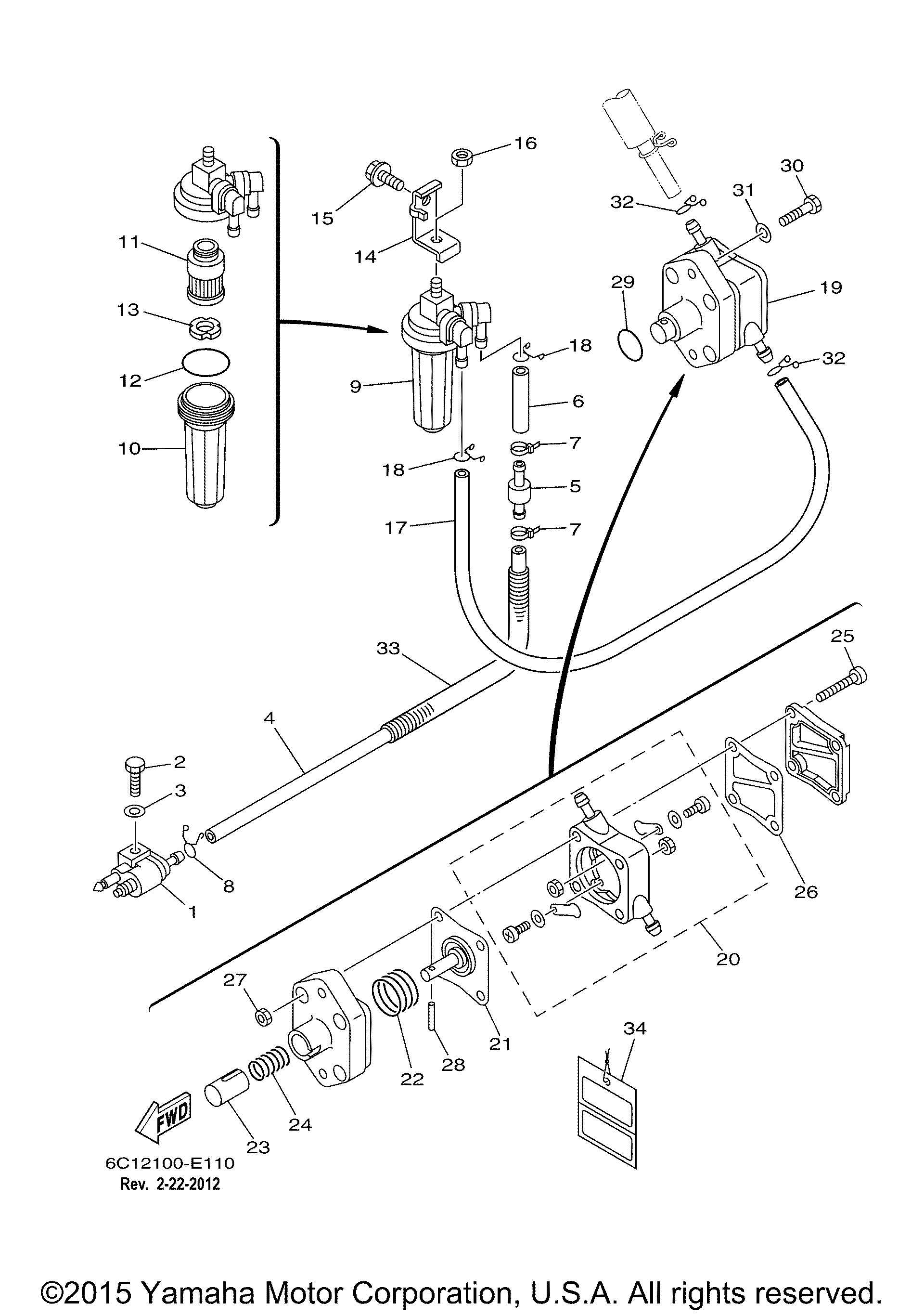
| 1 | FUEL PIPE JOINT COMP | 1 | |
| 2 | BOLT | 1 | |
| 3 | WASHER (5 per pack) | 1 | |
| 4 | PIPE 3 | 1 | |
| 5 | PIPE JOINT 3 | 1 | |
| 6 | HOSE(6K7) (L40) | 1 | |
| 7 | CLAMP | 2 | |
| 8 | CLIP | 1 | |
| 10 | CUP FILTER | 1 | |
| 11 | ELEMENT FILTER | 1 | |
| 12 | O-RING (5 per pack) | 1 | |
| 13 | FLOAT WATER LEVEL | 1 | |
| 14 | BRACKET FILTER | 1 | |
| 15 | BOLT FLANGE(MF1) | 1 | |
| 16 | NUT HEX. | 1 | |
| 17 | PIPE FUEL 1 (L350) | 1 | |
| 18 | CLIPPIPE 1 | 2 | |
| 19 | FUEL PUMP ASSY | 1 | |
| 20 | . .BODY 4 | 1 | |
| 21 | . .DIAPHRAGM | 1 | |
| 22 | . .SPRING DIAPHRAGM | 1 | |
| 23 | . .PLUNGER | 1 | |
| 24 | . .SPRING | 1 | |
| 26 | . .DIAPHRAGM | 1 | |
| 27 | NUT (5 per pack) | 4 | |
| 28 | . .PIN | 1 | |
| 29 | O-RING | 1 | |
| 30 | BOLT | 2 | |
| 33 | HOSE (L320) | 1 | |
| 34 | TAG WARNING | 1 |
