| № | Наименование | Примечание | Кол-во |
|---|---|---|---|
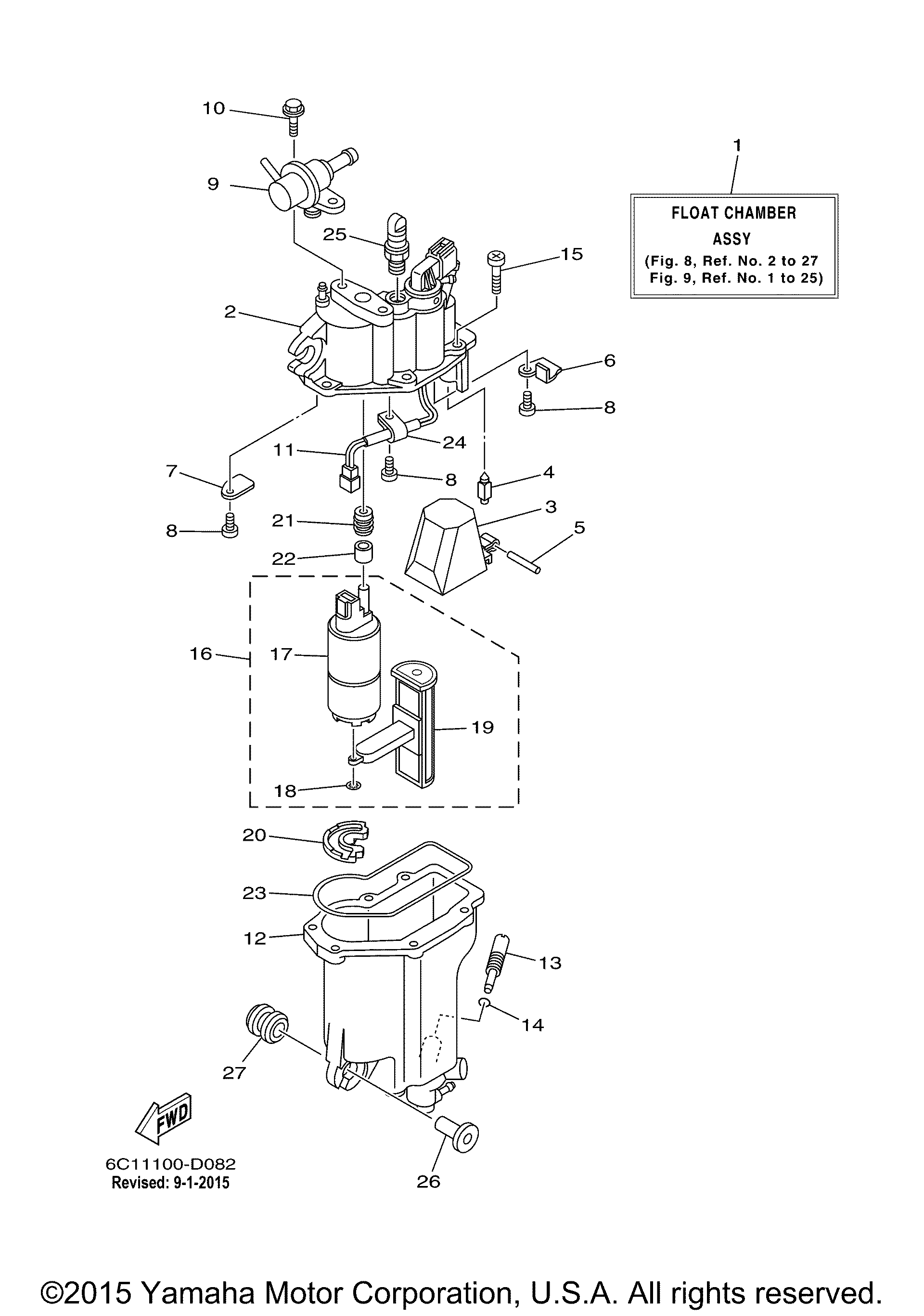
| 2 | COVER FLOAT CHAMBER | 1 | |
| 3 | FLOAT | 1 | |
| 4 | VALVE NEEDLE | 1 | |
| 5 | PIN FLOAT | 1 | |
| 6 | PLATE BAFFLE 1 | 1 | |
| 7 | PLATE BAFFLE 2 | 1 | |
| 8 | SCREW | 3 | |
| 9 | REGULATOR PRESSURE | 1 | |
| 10 | BOLT | 2 | |
| 11 | WIRE HARNESS ASSY | 1 | |
| 12 | GASKET FLOAT CHAMBE | 1 | |
| 13 | .PLUG DRAIN | 1 | |
| 14 | O-RING | 1 | |
| 15 | SCREW | 6 | |
| 16 | FUEL PUMP ASSY | 1 | |
| 17 | . .FUEL PUMP COMP. | 1 | |
| 18 | CLIP | 1 | |
| 19 | .FILTER | 1 | |
| 20 | DAMPER | 1 | |
| 21 | DAMPER PUMP | 1 | |
| 22 | COLLAR | 1 | |
| 23 | BODY ASSY | 1 | |
| 24 | CLAMP CABLE | 1 | |
| 25 | CAP | 1 | |
| 26 | COLLAR | 3 | |
| 27 | GROMMET | 3 |
