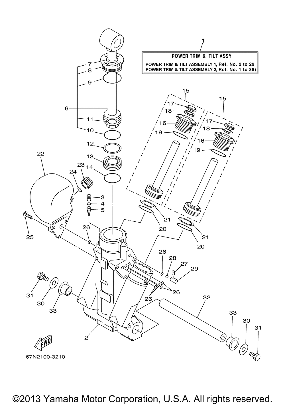
| № | Наименование | Примечание | Кол-во |
|---|---|---|---|
| 1 | POWER TRIM & TILT AS | 1 | |
| 2 | HOUSING TRIM & TILT | 1 | |
| 3 | PLUG 2 | 1 | |
| 4 | O-RING | 1 | |
| 5 | FILTER 2 | 1 | |
| 6 | TILT PISTON SUB ASSY | 1 | |
| 7 | . .SEAL DUST 2 | 1 | |
| 8 | . .O-RING | 1 | |
| 9 | . .O-RING | 1 | |
| 10 | . O-RING | 1 | |
| 11 | . .O-RING | 1 | |
| 12 | RING BACK UP | 1 | |
| 13 | PISTON FREE | 1 | |
| 15 | TRIM PISTON SUB ASSY | 2 | |
| 16 | SCREW TRIM CYLINDER | 1 | |
| 17 | . .SEAL TRIM DUST | 1 | |
| 18 | . .SEAL TRIM DOWN | 1 | |
| 19 | . .O-RING | 1 | |
| 20 | O-RING | 2 | |
| 21 | RING BACK UP | 2 | |
| 22 | BODY RESERVOIR | 1 | |
| 23 | PLUG RESERVOIR | 1 | |
| 24 | O-RING | 1 | |
| 25 | BOLT SCREW (L:14MM) (L:14MM) | 3 | |
| 26 | O-RING | 6 | |
| 27 | PIN | 1 | |
| 28 | BALL | 1 | |
| 29 | VALVE SEAT | 1 | |
| 30 | WASHER PLATE | 2 | |
| 31 | BOLT | 2 | |
| 32 | LOWER SHOCK MOUNT PI | 1 | |
| 33 | BUSH | 2 |
