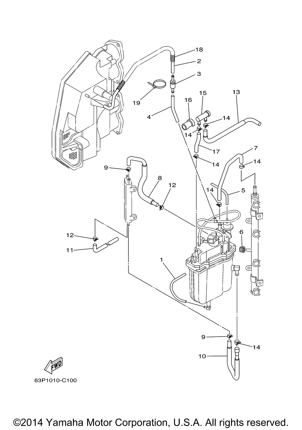
| № | Наименование | Примечание | Кол-во |
|---|---|---|---|
| 1 | PIPE | 1 | |
| 2 | PIPE SILENCER | 1 | |
| 3 | RELIEF VALVE ASSY | 1 | |
| 4 | PIPE | 1 | |
| 5 | HOSE VACUUM SENSING | 1 | |
| 6 | CAP | 1 | |
| 7 | PIPE FUEL 4 | 1 | |
| 8 | PIPE FUEL 6 | 1 | |
| 9 | CLIP | 2 | |
| 10 | PIPE 7 | 1 | |
| 11 | PIPE 2 | 1 | |
| 12 | CLIP | 2 | |
| 13 | PIPE 14 | 1 | |
| 14 | CLIP | 6 | |
| 15 | FILTER FUEL | 1 | |
| 16 | CAP | 1 | |
| 17 | PIPE FUEL 5 | 1 | |
| 18 | COVER 1 | 1 | |
| 19 | CLAMP | 1 |
