| № | Наименование | Примечание | Кол-во |
|---|---|---|---|
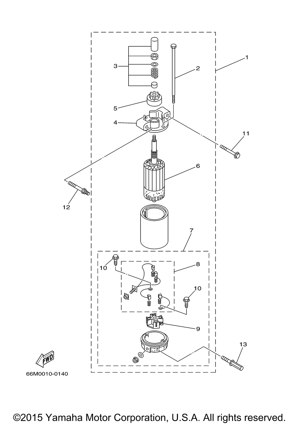
| 1 | STARTING MOTOR ASSY | 1 | |
| 2 | BOLT | 2 | |
| 3 | RETAINER | 1 | |
| 4 | FRONT BRACKET ASSY | 1 | |
| 5 | GEAR ASSY STARTIN | 1 | |
| 6 | ARMATURE ASSY | 1 | |
| 7 | REAR BRACKET ASSY | 1 | |
| 8 | BRUSH SET | 1 | |
| 9 | BRUSH HOLDER ASSY | 1 | |
| 10 | BOLT | 2 | |
| 11 | BOLT WITH WASHER | 1 | |
| 12 | BOLT | 1 | |
| 13 | BOLT | 1 |
