| № | Наименование | Примечание | Кол-во |
|---|---|---|---|
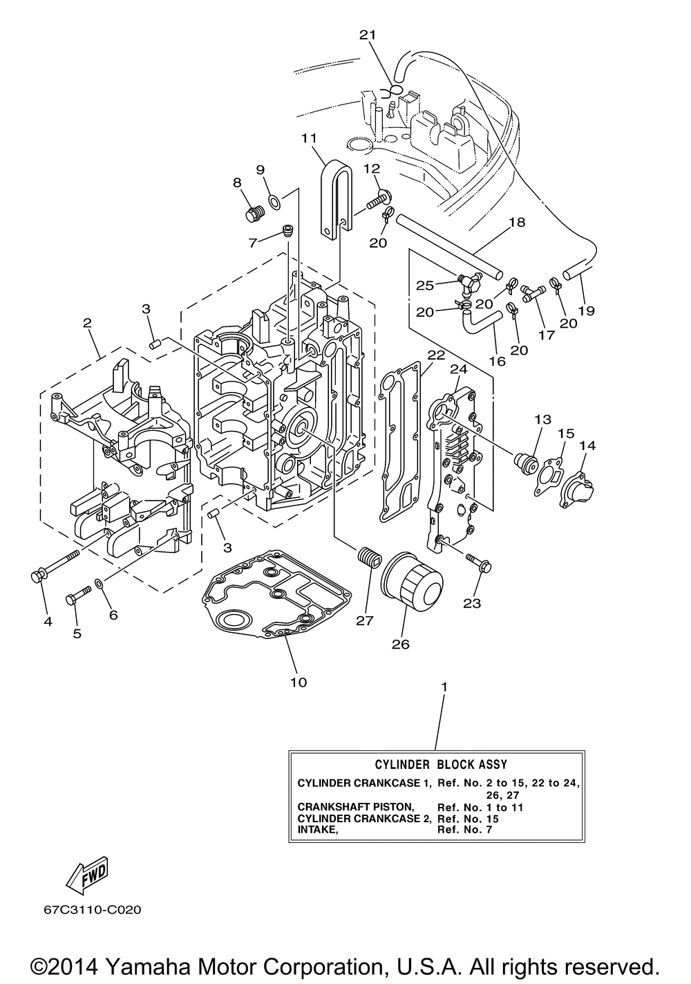
| 1 | CYLINDER BLOCK ASSY | 1 | |
| 2 | CRANKCASE ASSY | 1 | |
| 3 | PIN DOWEL | 2 | |
| 4 | BOLT WITH WASHER | 8 | |
| 5 | BOLT(3RV) | 8 | |
| 6 | WASHER (5 per pack) | 8 | |
| 7 | PLUGTAPER SCREW | 1 | |
| 8 | PLUGSTRAGHT SCREW | 1 | |
| 9 | GASKET | 1 | |
| 10 | GASKET CYLINDER | 1 | |
| 11 | HANGER ENGINE | 1 | |
| 12 | BOLTWASHER BASED | 1 | |
| 13 | THERMOSTAT | 1 | |
| 14 | COVER THERMOSTAT | 1 | |
| 15 | .GASKET COVER | 1 | |
| 16 | HOSE (L110) | 1 | |
| 17 | PIPEJOINT 4 | 1 | |
| 18 | HOSE (L215) | 1 | |
| 19 | HOSE (L300) | 1 | |
| 20 | CLAMP | 5 | |
| 21 | CLIPSCISSOR | 1 | |
| 22 | GASKET EXHAUST OUTE | 1 | |
| 23 | BOLT WITH WASHER | 10 | |
| 24 | OUTER COVER EXHAUST | 1 | |
| 25 | NIPPLE HOSE FLUSHING KIT | 1 | |
| 26 | Фильтр масляный | 1 | |
| 27 | BOLTUNION | 1 |
