| № | Наименование | Примечание | Кол-во |
|---|---|---|---|
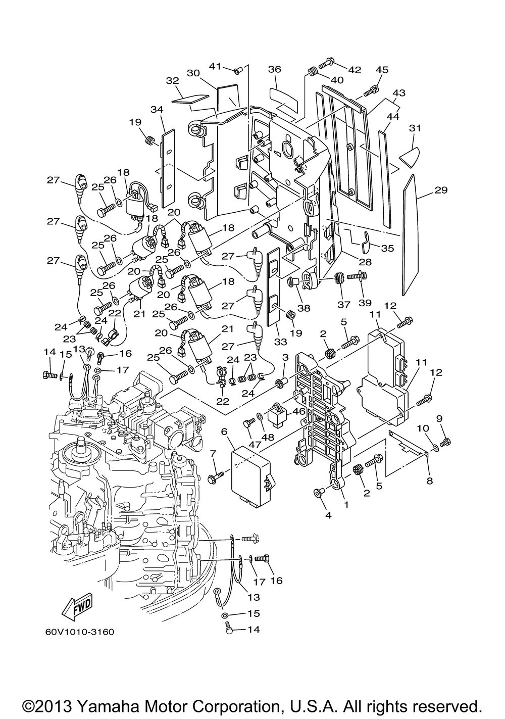
| 1 | BRACKET | 1 | |
| 2 | GROMMET | 4 | |
| 3 | COLLAR | 2 | |
| 4 | COLLAR | 2 | |
| 5 | BOLT | 4 | |
| 6 | ENGINE CONTROL UNIT UR VZ250 | 1 | |
| 6 | ENGINE CONTROL UNIT UR VZ225 | 1 | |
| 7 | BOLT WITH WASHER | 2 | |
| 8 | HOLDER | 1 | |
| 9 | BOLT | 2 | |
| 10 | WASHER (5 per pack) | 2 | |
| 11 | DRIVER INJECTOR ASS | 2 | |
| 12 | BOLT WITH WASHER | 4 | |
| 13 | WIREEARTH LEAD | 2 | |
| 14 | BOLT | 2 | |
| 15 | WASHER (5 per pack) | 2 | |
| 18 | IGNITION COIL ASSY | 4 | |
| 19 | GROMMET | 4 | |
| 20 | HOSE (L60) | 5 | |
| 21 | IGNITION COIL ASSY | 2 | |
| 22 | CLAMP | 2 | |
| 23 | GROMMET | 4 | |
| 24 | CLAMP | 4 | |
| 25 | BOLT (661) | 12 | |
| 26 | WASHER (5 per pack) | 12 | |
| 27 | PLUG CAP ASSY | 6 | |
| 28 | COVER IGNITION COIL | 1 | |
| 29 | SEAT RUBBER | 1 | |
| 30 | SEAT RUBBER | 1 | |
| 31 | SEAT 1 | 1 | |
| 32 | SEAT 1 | 1 | |
| 33 | GUIDE COVER LOWER | 1 | |
| 34 | GUIDE COVER LOWER | 1 | |
| 35 | PLATE SEAT | 3 | |
| 36 | PLATE SEAT | 3 | |
| 37 | SPACER | 4 | |
| 40 | DAMPERIGN COIL | 4 | |
| 41 | COLLAR | 4 | |
| 42 | BOLTWITH WASHER | 4 | |
| 43 | COVER | 1 | |
| 44 | GUIDE COVER UPPER | 2 | |
| 45 | BOLTHEX. SOCKET BUT | 3 | |
| 46 | RELAY ASSY | 1 | |
| 47 | BOLT (GA1) (5 per pack) | 1 |
