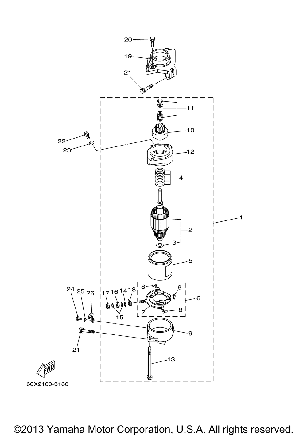
| № | Наименование | Примечание | Кол-во |
|---|---|---|---|
| 1 | STARTING MOTOR ASSY | 1 | |
| 2 | ARMATURE ASY | 1 | |
| 3 | WASHER 2 | 1 | |
| 4 | WASHER KIT | 1 | |
| 5 | STATOR ASSY | 1 | |
| 6 | BRUSH HOLDER ASSY | 1 | |
| 7 | BRUSH SET | 1 | |
| 8 | SPRINGBRUSH | 3 | |
| 9 | REAR BRACKET ASSY | 1 | |
| 10 | GEAR ASSYSTRT MTR | 1 | |
| 11 | BEARING | 1 | |
| 12 | FRONT BRKT.ASSY | 1 | |
| 13 | BOLT | 2 | |
| 14 | WASHER PLAIN | 1 | |
| 15 | WASHER PLAIN | 2 | |
| 16 | NUT | 1 | |
| 17 | NUT | 1 | |
| 18 | BUSHTERMINAL | 1 | |
| 19 | BRACKETSTRTG MTR | 1 | |
| 20 | BOLT WITH WASHER | 2 | |
| 21 | BOLTWITH WASHER | 3 | |
| 22 | BOLT | 1 | |
| 23 | WASHER (5 per pack) | 1 | |
| 24 | BOLT | 1 | |
| 25 | WASHER (5 per pack) | 1 | |
| 26 | CLAMP | 1 |
