| № | Наименование | Примечание | Кол-во |
|---|---|---|---|
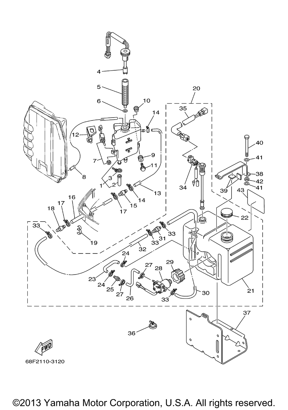
| 1 | OIL TANK ASSY | 1 | |
| 2 | TUBE V4/V6 OILTANK | 1 | |
| 3 | CLAMP | 1 | |
| 4 | OIL LEVEL GAUGE ASSY | 1 | |
| 5 | STRAINEROIL | 1 | |
| 6 | GASKETSTRNR COVER (5 per pack) | 1 | |
| 7 | SWITCH ASSY | 1 | |
| 8 | HOSE (L600) | 1 | |
| 9 | DAMPERIGN COIL | 3 | |
| 10 | COLLAR | 2 | |
| 11 | BOLTWITH WASHER | 3 | |
| 12 | CLAMP | 1 | |
| 13 | PIPE 12 | 1 | |
| 14 | CLAMP | 2 | |
| 15 | PIPE JOINT 4 | 1 | |
| 16 | HOSE (L2400) | 1 | |
| 19 | CLAMP | 1 | |
| 20 | SUB OIL TANK ASSY. AP | 1 | |
| 21 | SUB TANK OIL (10.5L (10.5L) | 1 | |
| 22 | CAP ASSYOIL TANK | 1 | |
| 23 | PIPE | 1 | |
| 25 | STRAINER 1 | 1 | |
| 26 | PIPEOIL | 1 | |
| 28 | MOTOR PUMP ASSY | 1 | |
| 29 | GROMMET | 1 | |
| 30 | PIPE 10 | 1 | |
| 32 | HOSE (L6500) | 1 | |
| 34 | OIL LEVEL GAUGE ASSY | 1 | |
| 35 | OIL TANK HARN 26FT (L=8.0M) | 1 | |
| 37 | HLDROIL SUB TANK AP | 1 | |
| 38 | BRACKETDAMPER AP | 1 | |
| 39 | DAMPER AP | 2 | |
| 40 | BOLT AP | 1 | |
| 41 | WASHER (5 per pack) | 2 | |
| 42 | NUT (5 per pack) | 1 | |
| 43 | MARK CAUTION | 1 |
