| № | Наименование | Примечание | Кол-во |
|---|---|---|---|
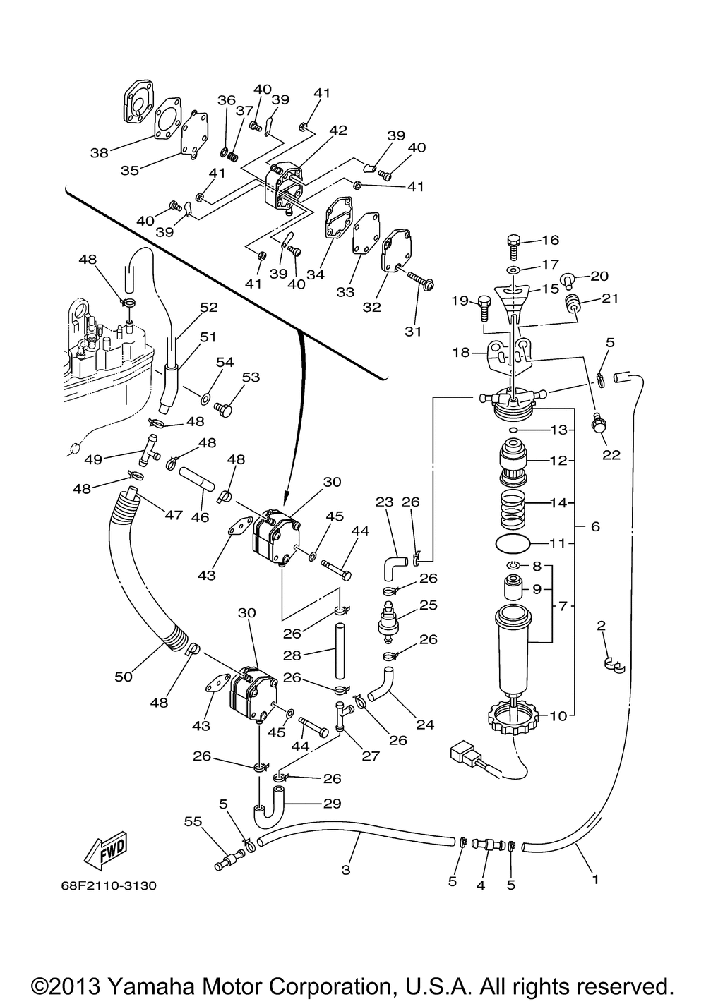
| 1 | PIPE 3 | 1 | |
| 2 | CLAMP | 1 | |
| 3 | HOSE (L2700) | 1 | |
| 4 | PIPEJOINT 3 | 1 | |
| 5 | CLAMP | 4 | |
| 6 | FILTER ASSY | 1 | |
| 7 | CUP FILTER | 1 | |
| 8 | CLIP | 1 | |
| 9 | FLOAT WATER LEVEL | 1 | |
| 10 | NUT | 1 | |
| 11 | GASKET | 1 | |
| 12 | ELEMENT FUEL FILTER | 1 | |
| 13 | GASKET | 1 | |
| 14 | SPRING | 1 | |
| 15 | LOCKPLATE | 1 | |
| 16 | BOLT W/WASHER | 1 | |
| 17 | WASHERPLATE | 1 | |
| 18 | BRACKET FILTER | 1 | |
| 19 | BOLT W/WASHER | 1 | |
| 20 | COLLAR | 2 | |
| 21 | GROMMET (6K7) | 2 | |
| 22 | BOLTWITH WASHER | 2 | |
| 23 | PIPE FUEL 1 | 1 | |
| 24 | PIPE 6 | 1 | |
| 25 | FUEL FEED ASY | 1 | |
| 27 | PIPEJOINT 4 | 1 | |
| 28 | HOSE(6K7) (L85) | 1 | |
| 29 | PIPE FUEL 1 | 1 | |
| 30 | FUEL PUMP ASY | 2 | |
| 31 | SCREW | 3 | |
| 32 | BODY 2 | 1 | |
| 33 | DIAPHRGM | 1 | |
| 34 | GASKETBODY 2 | 1 | |
| 35 | DIAPHRAGM | 1 | |
| 36 | SEATSPRING | 1 | |
| 37 | SPRINGDIAPHRAGM | 1 | |
| 38 | GASKETBODY | 1 | |
| 39 | VALVECHECK | 4 | |
| 40 | SCREWPAN HEAD | 4 | |
| 41 | NUT (5 per pack) | 4 | |
| 42 | BODY 1 | 1 | |
| 43 | GASKETFUEL PUMP 1 | 2 | |
| 44 | BOLT | 4 | |
| 45 | WASHER (5 per pack) | 4 | |
| 47 | PIPE 3 | 1 | |
| 50 | WIRE HARNESS | 1 | |
| 51 | HOSE (L60) | 1 | |
| 52 | PIPE FUEL 1 (L235) | 1 | |
| 53 | BOLT | 1 | |
| 55 | PIPE JOINT 2 | 1 |
