| № | Наименование | Примечание | Кол-во |
|---|---|---|---|
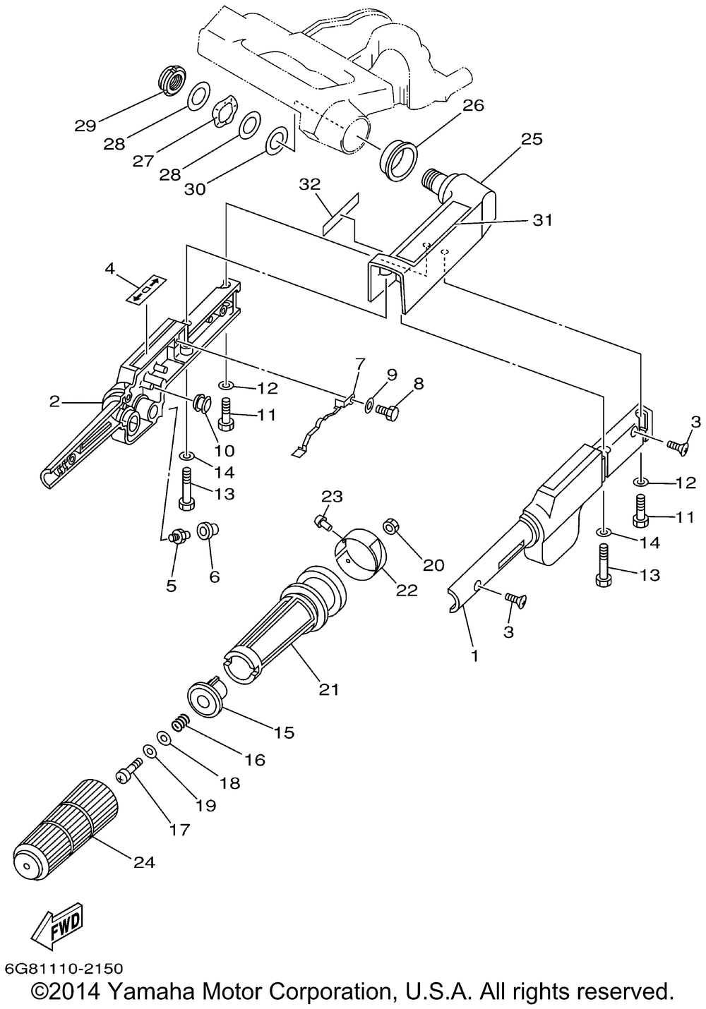
| 1 | HANDLE STEERING | 1 | |
| 2 | HANDLE STEERING | 1 | |
| 3 | SCREWFLAT HEAD (10 per pack) | 2 | |
| 4 | INDICATORSHIFT | 1 | |
| 5 | NIPPLEGREASE | 1 | |
| 6 | CAPGREASE NIPPLE | 1 | |
| 7 | SPRING | 1 | |
| 8 | BOLT (6A4) | 1 | |
| 9 | WASHER (5 per pack) | 1 | |
| 10 | GROMMET 2 | 1 | |
| 11 | BOLT | 2 | |
| 12 | WASHER (5 per pack) | 2 | |
| 13 | BOLT | 2 | |
| 15 | FRICTION STEERING H | 1 | |
| 16 | SPRINGCOMPRESSION | 1 | |
| 17 | SCREW PAN HEAD | 1 | |
| 18 | WASHERPLATE | 1 | |
| 19 | WASHERPLATE (5 per pack) | 1 | |
| 20 | NUT | 1 | |
| 21 | GRIPSTEERING HAND | 1 | |
| 22 | INDICATORTHROTTLE | 1 | |
| 23 | RIVETSPEC'L SHAPE | 1 | |
| 24 | RUBBERHANDLE | 1 | |
| 25 | HANDLESTEERING 3 | 1 | |
| 26 | BUSHSPEC'L NYLON | 1 | |
| 27 | WASHERWAVE | 1 | |
| 28 | WASHERPLATE (5 per pack) | 2 | |
| 29 | NUTSELF-LOCKING | 1 | |
| 30 | WASHERPLATE | 1 | |
| 31 | MARK CAUTION | 1 | |
| 32 | LABEL CAUTION 7 | 1 |
