| № | Наименование | Примечание | Кол-во |
|---|---|---|---|
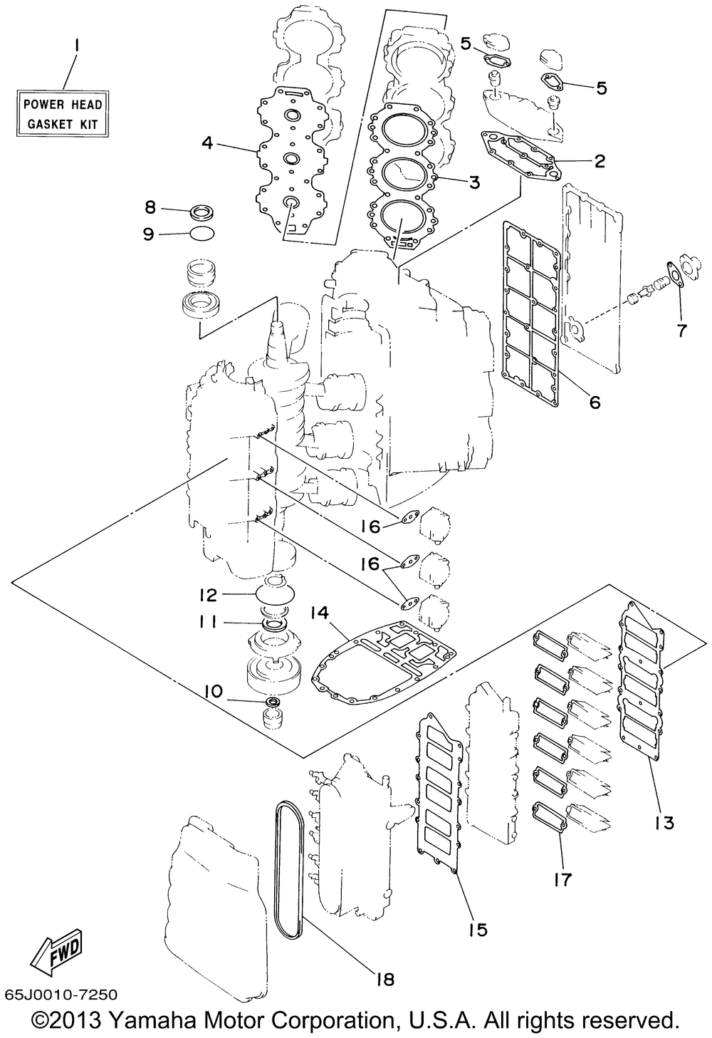
| 1 | POWER HEAD GASKET KI | 1 | |
| 2 | GASKET 1 | 1 | |
| 3 | GASKET CYLINDER HEA | 2 | |
| 4 | GASKET HEAD COVER 1 | 2 | |
| 5 | GASKETCOVER | 2 | |
| 6 | GASKET EXHAUST INNE | 1 | |
| 7 | GASKET 2 | 1 | |
| 8 | OIL SEALSD-TYPE | 1 | |
| 9 | . O-RING | 1 | |
| 10 | OIL SEALSO-TYPE | 1 | |
| 11 | OIL SEAL | 1 | |
| 12 | O-RING | 1 | |
| 13 | GASKETMANIFOLD 1 | 1 | |
| 14 | GASKETUPPER CASIN | 1 | |
| 15 | GASKETMANIFOLD 2 | 1 | |
| 16 | GASKETFUEL PUMP 1 | 3 | |
| 17 | GASKETVALVE SEAT | 6 | |
| 18 | GASKET | 1 |
