| № | Наименование | Примечание | Кол-во |
|---|---|---|---|
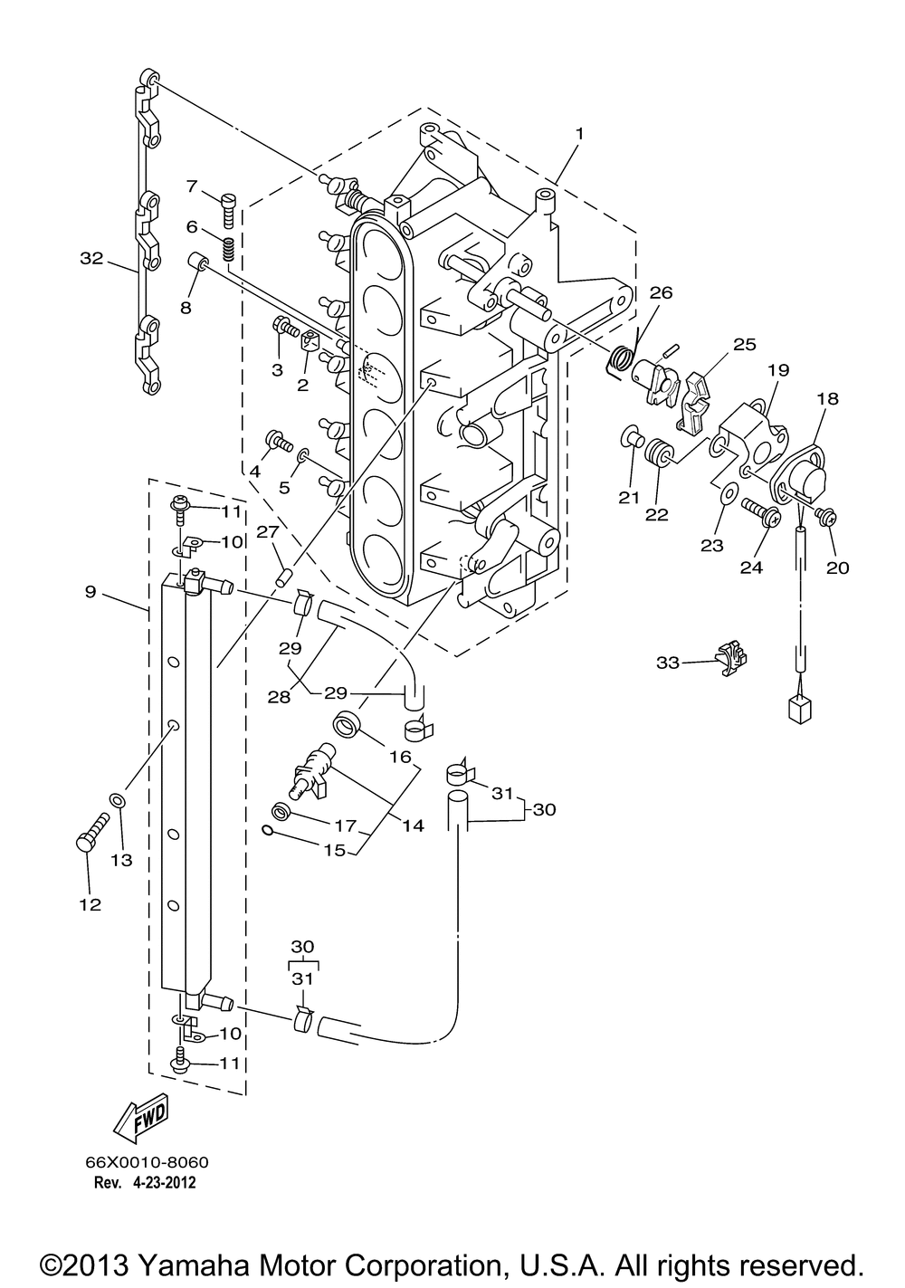
| 1 | BODY THROTTLE 1 | 1 | |
| 2 | PLATE | 1 | |
| 3 | SCREWSTOP | 1 | |
| 4 | SPRINGAIR ADJ | 1 | |
| 5 | SCREWSTOP | 1 | |
| 6 | SCREW | 6 | |
| 7 | WASHERPLATE | 6 | |
| 8 | COLLAR | 1 | |
| 9 | PIPE (67N0) | 1 | |
| 10 | PLATE 4 | 2 | |
| 12 | BOLT 1 | 4 | |
| 13 | WASHER | 4 | |
| 14 | INJECTOR ASY. | 6 | |
| 15 | O-RING | 1 | |
| 16 | GASKET | 1 | |
| 17 | RUBBER INJECTOR | 1 | |
| 18 | THROTTLE SENSOR ASSY | 1 | |
| 19 | BRACKET | 1 | |
| 20 | SCREWPAN HEAD W/W | 2 | |
| 21 | COLLAR (6K7) | 3 | |
| 22 | GROMMET (6K7) | 3 | |
| 23 | WASHER | 3 | |
| 24 | SCREWPAN HEAD W/W (5 per pack) | 3 | |
| 25 | LEVER | 1 | |
| 26 | SPRING | 1 | |
| 27 | INSERT | 2 | |
| 28 | PIPE FUEL 1 | 1 | |
| 29 | CLIP | 2 | |
| 30 | PIPE FUEL 2 | 1 | |
| 32 | RODACCEL.LEVER | 1 | |
| 33 | CLAMP | 1 |
