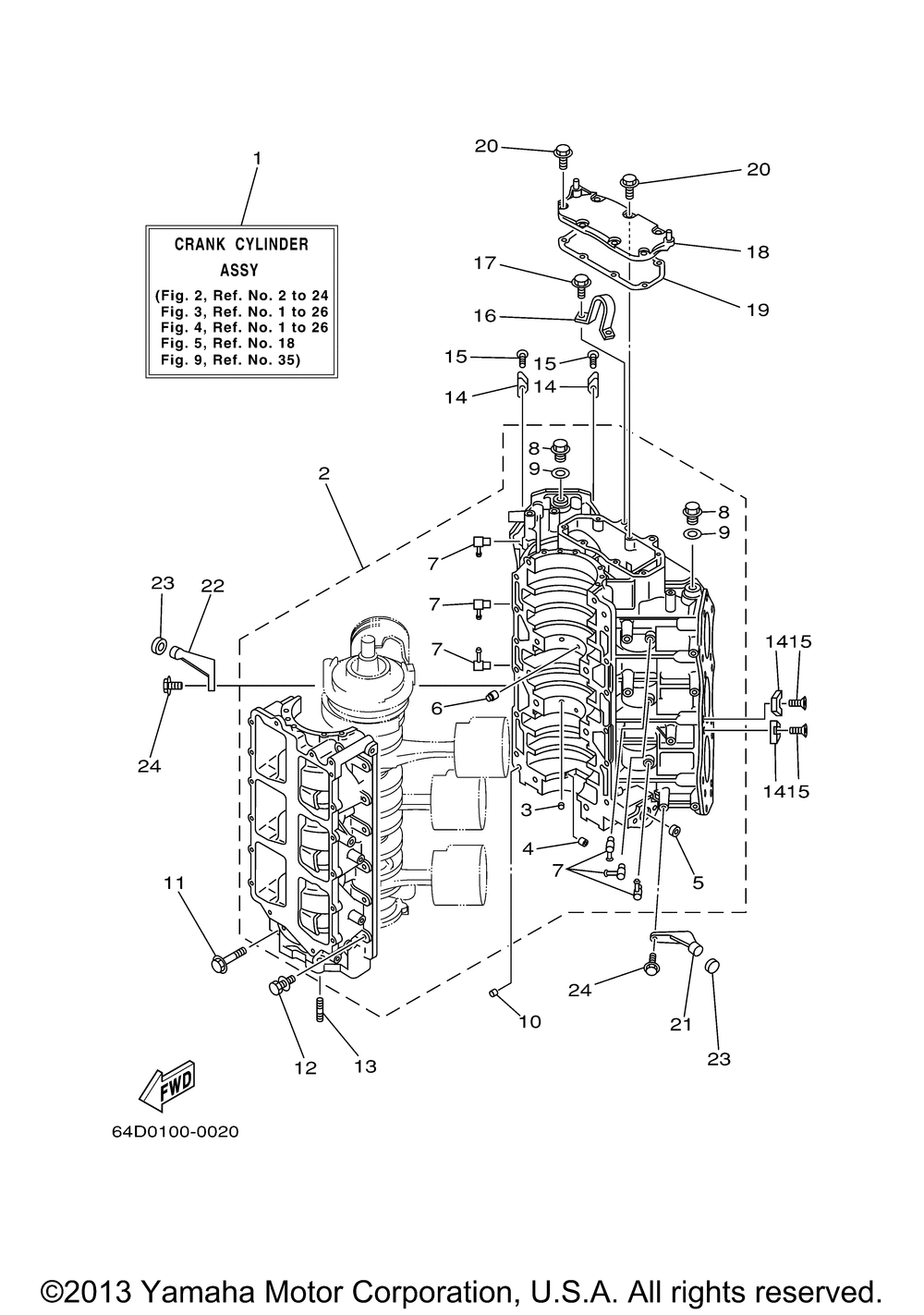
| № | Наименование | Примечание | Кол-во |
|---|---|---|---|
| 1 | CRANK CYLINDER ASSY (150) | 1 | |
| 2 | CRANKCASE ASSY | 1 | |
| 3 | VALVECHECK | 2 | |
| 4 | BUSH BIMETAL FORMED | 1 | |
| 5 | BUSHBIMETAL FORM | 1 | |
| 6 | LOCK BEARING | 2 | |
| 7 | CHECK VALVE ASSY | 6 | |
| 8 | PLUGSTRAGHT SCREW | 2 | |
| 9 | GASKET | 2 | |
| 10 | PINDOWEL (5 per pack) | 2 | |
| 11 | BOLTWASHER BASED | 8 | |
| 12 | BOLT WITH WASHER | 12 | |
| 13 | BOLTSTUD | 2 | |
| 14 | ANODE | 8 | |
| 15 | SCREWFLAT HEAD | 8 | |
| 16 | HANGER ENGINE | 1 | |
| 17 | BOLT WITH WASHER | 2 | |
| 18 | COVER | 1 | |
| 19 | GASKET 1 | 1 | |
| 20 | BOLT WITH WASHER | 7 | |
| 21 | STOPPER | 1 | |
| 22 | STOPPER | 1 | |
| 23 | DAMPER UPPER MOUNT | 2 |
