| № | Наименование | Примечание | Кол-во |
|---|---|---|---|
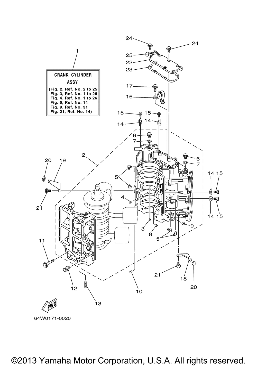
| 1 | CRANK CYLINDER ASSY UR 115 (115) | 1 | |
| 1 | CRANK CYLINDER ASSY UR 130 (130) | 1 | |
| 2 | CRANKCASE ASSY | 1 | |
| 2 | CRANKCASE ASSY UR 130 | 1 | |
| 3 | VALVECHECK | 1 | |
| 4 | LOCK BEARING | 1 | |
| 5 | NIPPLE HOSE | 4 | |
| 6 | PLUGSTRAGHT SCREW | 2 | |
| 7 | GASKET | 2 | |
| 8 | BUSH BIMETAL FORMED | 1 | |
| 9 | BUSHBIMETAL FORM | 1 | |
| 10 | PINDOWEL (5 per pack) | 2 | |
| 11 | BOLTWASHER BASED | 6 | |
| 12 | BOLT WITH WASHER | 8 | |
| 13 | BOLTSTUD | 2 | |
| 14 | ANODE | 4 | |
| 15 | SCREWFLAT HEAD | 4 | |
| 16 | HANGER ENGINE | 1 | |
| 17 | BOLT WITH WASHER | 2 | |
| 18 | STOPPER | 1 | |
| 19 | STOPPER | 1 | |
| 20 | DAMPER | 2 | |
| 21 | BOLT WITH WASHER | 4 | |
| 22 | COVER | 1 | |
| 23 | GASKET 1 | 1 | |
| 25 | CLAMP | 1 |
