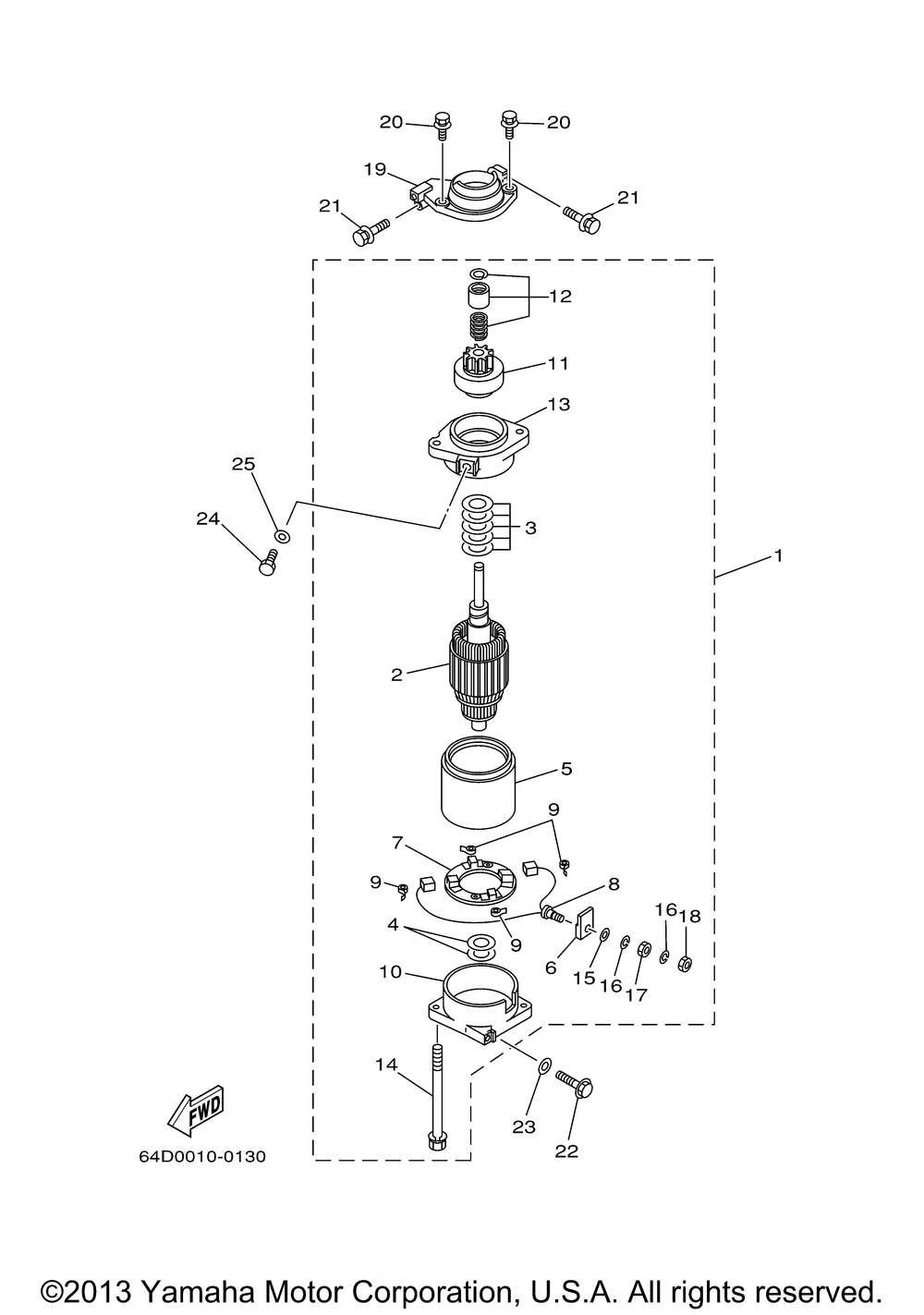
| № | Наименование | Примечание | Кол-во |
|---|---|---|---|
| 1 | STARTING MOTOR ASSY | 1 | |
| 2 | ARMATURE ASSY | 1 | |
| 3 | WASHER KIT | 1 | |
| 4 | WASHER 2 | 2 | |
| 5 | STATOR ASY | 1 | |
| 6 | BUSHTERMINAL | 1 | |
| 7 | BRUSH HOLDER ASY | 1 | |
| 8 | BRUSH SET | 1 | |
| 9 | SPRINGBRUSH | 4 | |
| 10 | REAR BRACKET ASSY | 1 | |
| 11 | GEAR ASSY STARTIN | 1 | |
| 12 | RETAINER | 1 | |
| 13 | FORNT BRACKET ASY | 1 | |
| 14 | BOLT | 2 | |
| 15 | WASHER PLAIN | 1 | |
| 16 | WASHER PLAIN | 2 | |
| 17 | NUT | 1 | |
| 18 | NUT | 1 | |
| 19 | BRACKET STARTING | 1 | |
| 20 | BOLT WITH WASHER | 2 | |
| 21 | BOLTWITH WASHER | 2 | |
| 22 | BOLT WITH WASHER | 1 | |
| 23 | WASHER (5 per pack) | 1 | |
| 24 | BOLT | 1 | |
| 25 | WASHER (5 per pack) | 1 |
