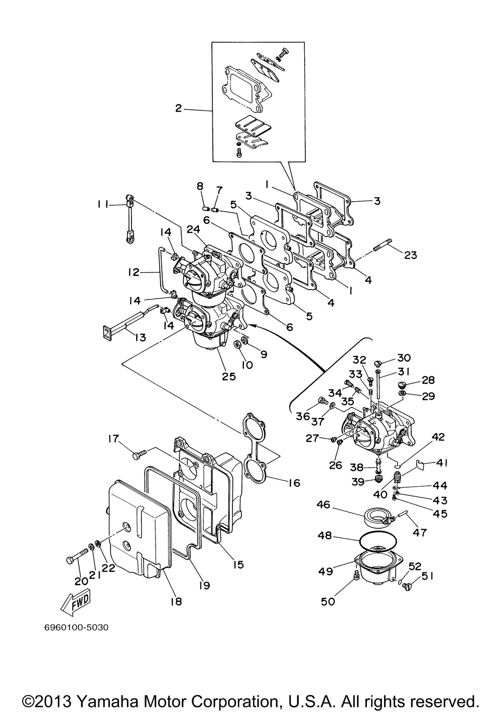
| № | Наименование | Примечание | Кол-во |
|---|---|---|---|
| 1 | REED VALVE ASSY. | 2 | |
| 2 | REED SET | 1 | |
| 3 | GASKET VALVE SEAT | 2 | |
| 4 | GASKET VALVE SEAT | 2 | |
| 5 | MANIFOLD 1 | 2 | |
| 6 | GASKET | 2 | |
| 7 | PIPEJOINT | 2 | |
| 8 | CAP OVERFLOW PIPE | 2 | |
| 9 | WASHER (5 per pack) | 8 | |
| 10 | NUT (5 per pack) | 8 | |
| 11 | RODACCEL.LEVER | 1 | |
| 12 | RODCHOKE 2 | 1 | |
| 13 | ROD CHOKE 1 | 1 | |
| 14 | JOINTCHOKE LEVER | 3 | |
| 15 | COVER 1 | 1 | |
| 16 | GASKET | 1 | |
| 17 | BOLT (661) | 4 | |
| 18 | COVER 2 | 1 | |
| 19 | GASKETAIR CLEANER | 1 | |
| 20 | BOLT (6G8) | 2 | |
| 22 | WASHER (5 per pack) | 2 | |
| 23 | BOLTSTUD | 8 | |
| 24 | CARBURETOR ASSY 1 1 | 1 | |
| 25 | CARBURETOR ASY 2 2 | 1 | |
| 26 | PILOTAIRJET(tahos_100) | 2 | |
| 27 | JET (135) | 2 | |
| 28 | SCREW | 2 | |
| 29 | WASHER | 2 | |
| 30 | SCREW | 2 | |
| 31 | JETPILOT | 2 | |
| 32 | . .SCREW STOP | 1 | |
| 33 | . .SPRING COMPRESSION | 1 | |
| 34 | SCREWPILOT | 2 | |
| 35 | SPRINGCOMPRESSION | 2 | |
| 36 | SCREW | 1 | |
| 37 | WASHERPLATE | 1 | |
| 38 | JETNEEDLE | 2 | |
| 39 | JETMAIN (165) | 2 | |
| 40 | VALVE SEAT ASY | 2 | |
| 41 | CLIP | 2 | |
| 42 | O-RING | 2 | |
| 43 | PINFLOAT | 2 | |
| 44 | CLIP | 2 | |
| 45 | SCREWPAN HEAD | 2 | |
| 46 | FLOAT | 2 | |
| 47 | PINFLOAT ARM | 2 | |
| 48 | O-RING | 2 | |
| 49 | BODYFLOAT CHAMBER | 2 | |
| 50 | SCREWW/WASHER | 8 | |
| 51 | DRAIN SCREW | 2 | |
| 52 | O-RING | 2 |
