| № | Наименование | Примечание | Кол-во |
|---|---|---|---|
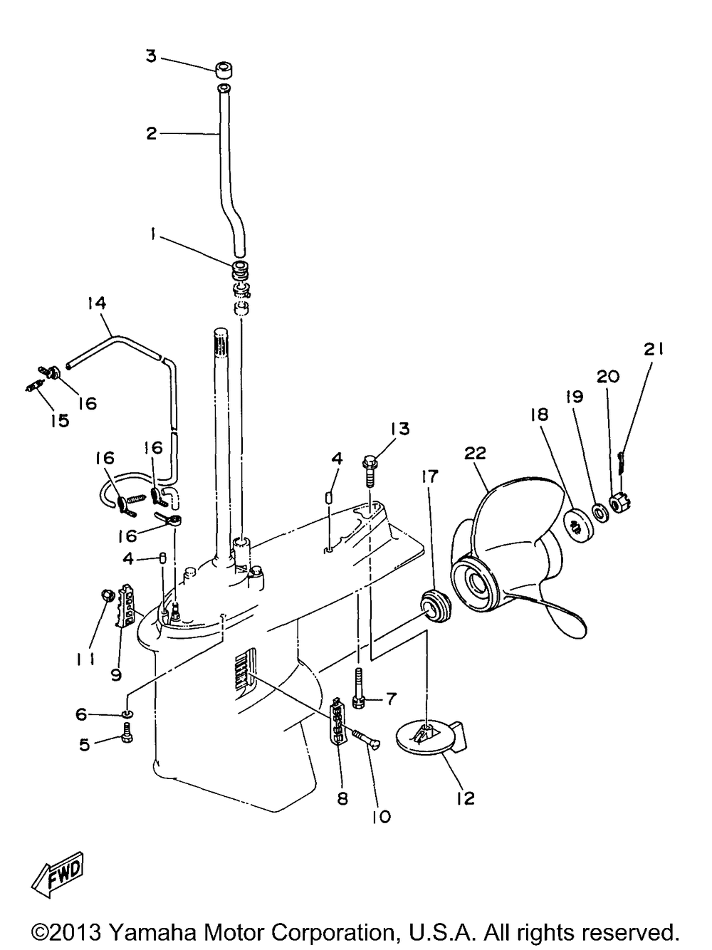
| 1 | WATER SEAL | 1 | |
| 2 | TUBEWATER L (20.3") | 1 | |
| 2 | TUBEWATER X (25.3") | 1 | |
| 3 | WATER SEAL | 1 | |
| 4 | PINDOWEL (5 per pack) | 2 | |
| 5 | BOLT | 6 | |
| 6 | WASHERSPRING (5 per pack) | 6 | |
| 7 | BOLTWITH WASHER | 1 | |
| 8 | COVER WATER INLET 1 | 1 | |
| 9 | COVER WATER INLET 2 | 1 | |
| 10 | SCREW COUNTERSUNK | 1 | |
| 11 | NUTSELF-LOCKING | 1 | |
| 12 | TAB-TRIM | 1 | |
| 13 | BOLT FLANGE | 1 | |
| 14 | HOSE (L1030) | 1 | |
| 15 | ENDNIPPLE | 1 | |
| 16 | CLAMP | 4 | |
| 17 | SPACER | 1 | |
| 18 | SPACER 2 | 1 | |
| 19 | WASHER | 1 | |
| 20 | NUTCASTLE | 1 | |
| 21 | PINCOTTER (5 per pack) | 1 | |
| 22 | SS PROP 13-3/4X19 (3X13-3/4"X19"-M2) UR | 1 | |
| 22 | SS PROP 13-3/4X21 (3X13-3/4"X21"-M) UR | 1 | |
| 22 | SS PROP 15-1/4X15 (3X15-1/4"X15"-M) UR | 1 | |
| 22 | AL.PROP.14-5/8X16 (3X14-5/8"X16"-M) UR ALUMINUM | 1 | |
| 22 | AL.PROP.13-1/2X23 (3X13-1/2"X23"-M) UR | 1 | |
| 22 | AL PROP14-1/2 X 17M (3X14-1/2"X17"-M) UR | 1 | |
| 22 | AL.PROP. 14X19 (3X14"X19"-M) UR | 1 | |
| 22 | AL PROP15-1/4X15 (3X15-1/4"X15"-M) UR | 1 | |
| 22 | SS PROP 15 3/4X 13 (3X15-3/4"X13"-M) UR | 1 | |
| 22 | SS PROP.13 3/8X25 (3X13-3/8"X25"-M) UR | 1 | |
| 22 | SS PROP 13-3/4X17 UR | 1 | |
| 22 | SS PROP.13-3/8X23 (3X13-3/8"X23"-M) UR | 1 |
