| № | Наименование | Примечание | Кол-во |
|---|---|---|---|
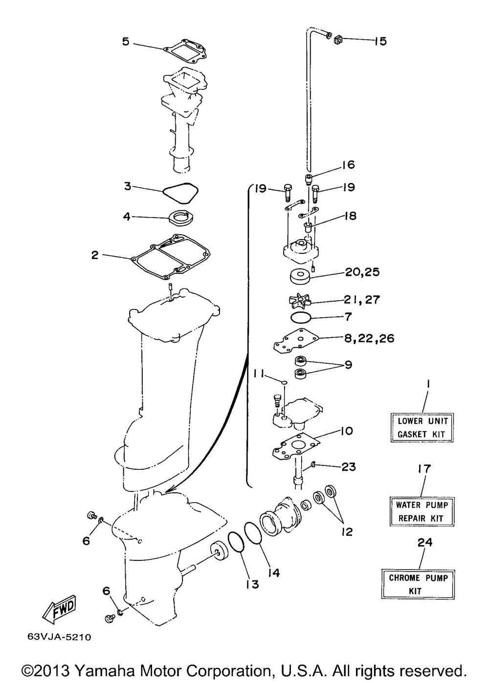
| 1 | GASKET KIT L/U | 1 | |
| 2 | . .GASKET UPPER CASING | 1 | |
| 3 | O-RING | 1 | |
| 4 | . .GASKET EXHAUST MANIFOLD | 1 | |
| 5 | . .GASKET EXHAUST MANIFOLD 1 | 1 | |
| 6 | GASKET (USA) | 2 | |
| 7 | . .O-RING | 1 | |
| 8 | OUTER PLATECART. | 1 | |
| 9 | OIL SEALS-TYPE | 2 | |
| 10 | PACKINGLOWER CASE | 1 | |
| 11 | . .O-RING | 1 | |
| 12 | . .OIL SEAL | 2 | |
| 13 | O-RING | 1 | |
| 14 | O-RING | 1 | |
| 15 | DAMPER WATER SEAL 1 | 1 | |
| 16 | RUBBERWATER SEAL | 1 | |
| 17 | WATER PUMP REPAIR KI | 1 | |
| 18 | WATER SEAL | 1 | |
| 19 | BOLT | 4 | |
| 20 | . .INSERT CARTRIDGE | 1 | |
| 21 | IMPELLER | 1 | |
| 23 | . .KEY WOODRUFF | 1 | |
| 24 | CHROME PUMP KIT | 1 | |
| 25 | . .INSERT CARTRIDGE | 1 | |
| 26 | . .OUTER PLATE CARTRIDGE | 1 |
