| № | Наименование | Примечание | Кол-во |
|---|---|---|---|
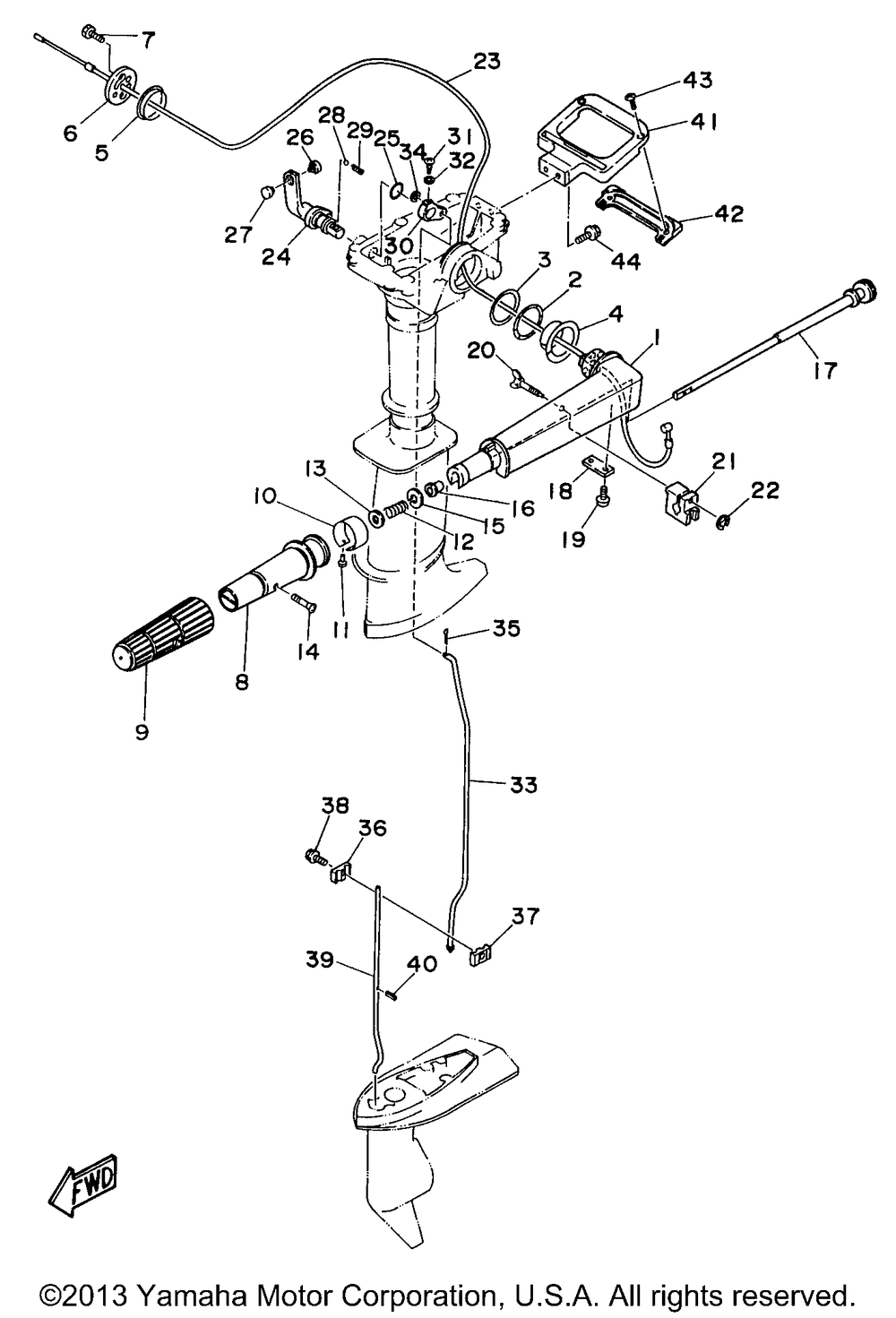
| 1 | HANDLESTEERING | 1 | |
| 2 | WASHER WAVE | 1 | |
| 3 | WASHER PLATE | 1 | |
| 4 | BUSH | 1 | |
| 5 | BUSH | 1 | |
| 6 | COVERSTEER HANDLE | 1 | |
| 7 | BOLT HEXAGON | 1 | |
| 8 | GRIP STEERING HANDLE | 1 | |
| 9 | RUBBER HANDLE | 1 | |
| 10 | INDICATORTHROTTLE (3MH) | 1 | |
| 11 | RIVETSPEC'L SHAPE | 1 | |
| 12 | SPRINGCOMPRESSION | 1 | |
| 13 | WASHER (5 per pack) | 1 | |
| 14 | SCREW COUNTERSUNK | 1 | |
| 15 | WASHER (3MH) | 1 | |
| 16 | BUSHSPEC'L NYLON (5 per pack) | 1 | |
| 17 | LEVERTHROTTLE | 1 | |
| 18 | STAY | 1 | |
| 19 | SCREW PAN HEAD | 2 | |
| 20 | BOLTFRICTION ADJ (3MH) | 1 | |
| 21 | FRICTION STEERING HANDLE GRIP | 1 | |
| 22 | CIRCLIP (6L5) | 1 | |
| 23 | THROTTLE CABLE (3MH) | 1 | |
| 24 | HANDLEGEAR SHIFT (3MH) | 1 | |
| 25 | O-RING (5 per pack) | 1 | |
| 26 | INDICATOR 3 | 1 | |
| 27 | INDICATOR 4 | 1 | |
| 28 | BALL | 1 | |
| 29 | SPRINGCOMPRESSION | 1 | |
| 30 | LEVER SHIFT ROD (3MH) | 1 | |
| 31 | SCREWTAPPING | 1 | |
| 32 | WASHER | 1 | |
| 33 | RODSHIFT 1 (3MH) | 1 | |
| 34 | WASHER (5 per pack) | 1 | |
| 35 | PINCOTTER | 1 | |
| 36 | CONNECTORSHIFT 1 (3MH) | 1 | |
| 37 | CONNECTORSHIFT 2 (3MH) | 1 | |
| 38 | BOLT | 1 | |
| 39 | RODSHIFT 2 UR LONG | 1 | |
| 39 | RODSHIFT 2 S(17.0") | 1 | |
| 40 | PINSPRING | 1 | |
| 41 | CARRYING HANDLE (3MH) | 1 | |
| 42 | PROTECTOR (3MH) | 1 | |
| 43 | SCREWTAPPING (3MH) (5 per pack) | 2 | |
| 44 | BOLT W/WASHER | 2 |
