| № | Наименование | Примечание | Кол-во |
|---|---|---|---|
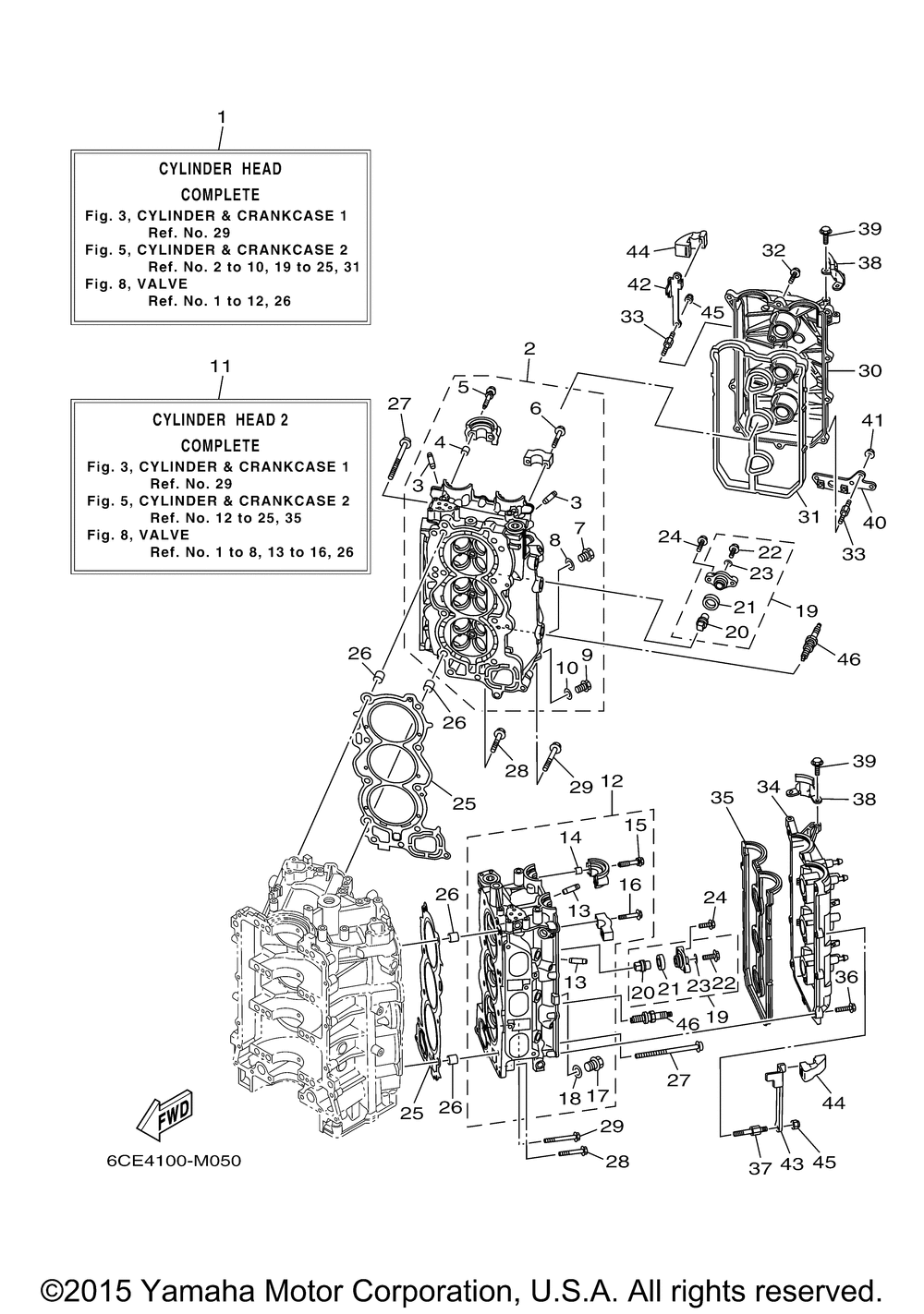
| 1 | CYLINDER HEAD COMPLE | 1 | |
| 2 | CYLINDER HEAD ASSY | 1 | |
| 3 | GUIDE VALVE 1 | 12 | |
| 4 | PINDOWEL | 4 | |
| 5 | BOLT WITH WASHER | 4 | |
| 6 | BOLT WITH WASHER | 12 | |
| 7 | PLUG STRAIGHT SCR | 1 | |
| 8 | WASHERPLATE | 1 | |
| 9 | PLUGSTRAGHT SCREW | 1 | |
| 10 | GASKET | 1 | |
| 11 | CYLINDER HEAD COMPLE | 1 | |
| 12 | CYLINDER HEAD ASSY 2 | 1 | |
| 19 | ANODE COVER ASSY | 8 | |
| 20 | ANODE | 1 | |
| 21 | GROMMET ANODE | 1 | |
| 22 | BOLTWASHER BASED | 1 | |
| 23 | GASKET (6F5) | 1 | |
| 24 | BOLT FLANGE(JH3) | 16 | |
| 25 | GASKET CYLINDER HEA | 2 | |
| 26 | COLLAR | 4 | |
| 27 | SCREW FLAT FILLISTE | 16 | |
| 28 | BOLT FLANGE | 4 | |
| 29 | BOLT FLANGE | 2 | |
| 30 | COVER CYLINDER HEAD | 1 | |
| 31 | GASKET HEAD COVER 1 | 1 | |
| 32 | BOLT | 9 | |
| 33 | BOLT | 4 | |
| 34 | COVER CYLINDER HEAD | 1 | |
| 35 | GASKET HEAD COVER 2 | 1 | |
| 38 | GUIDE 1 | 2 | |
| 39 | BOLT FLANGE | 4 | |
| 40 | BRACKET | 1 | |
| 41 | NUT | 2 | |
| 42 | BRACKET 1 | 1 | |
| 43 | BRACKET 2 | 1 | |
| 44 | DAMPER | 2 | |
| 45 | NUTSELF-LOCKING | 4 | |
| 46 | LFR6A-11 NGK 10PK (NGK LFR6A-11) (10 per pack) | 6 |
