| № | Наименование | Примечание | Кол-во |
|---|---|---|---|
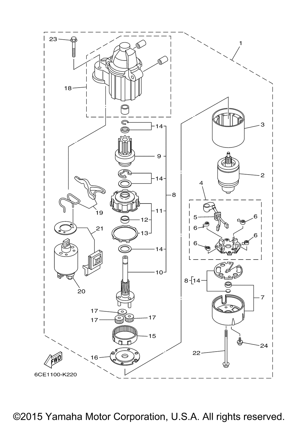
| 1 | STARTING MOTOR ASSY | 1 | |
| 2 | ARMATURE ASSY | 1 | |
| 3 | STATOR ASSY | 1 | |
| 4 | BRUSH HOLDER ASSY | 1 | |
| 5 | BRUSH SET | 1 | |
| 6 | SPRING BRUSH | 4 | |
| 7 | REAR BRACKET ASSY | 1 | |
| 8 | GEAR ASSY STARTING | 1 | |
| 9 | CLUTCH OVER RUN | 1 | |
| 10 | SPRING LEVER | 1 | |
| 11 | COVER SWITCH | 1 | |
| 12 | BEARING | 1 | |
| 13 | GASKET | 1 | |
| 14 | WASHER KIT | 1 | |
| 15 | GEAR RING WITH 67F-8183R-00 | 1 | |
| 16 | FRONT BRACKET ASSY | 1 | |
| 17 | GEAR IDLER | 3 | |
| 18 | COVER | 1 | |
| 19 | LEVER ASSY | 1 | |
| 20 | STARTER RELAY ASSY | 1 | |
| 21 | COVER DUST | 1 | |
| 22 | BOLT | 2 | |
| 23 | BOLT 2 | 2 | |
| 24 | SCREW | 2 |
