| № | Наименование | Примечание | Кол-во |
|---|---|---|---|
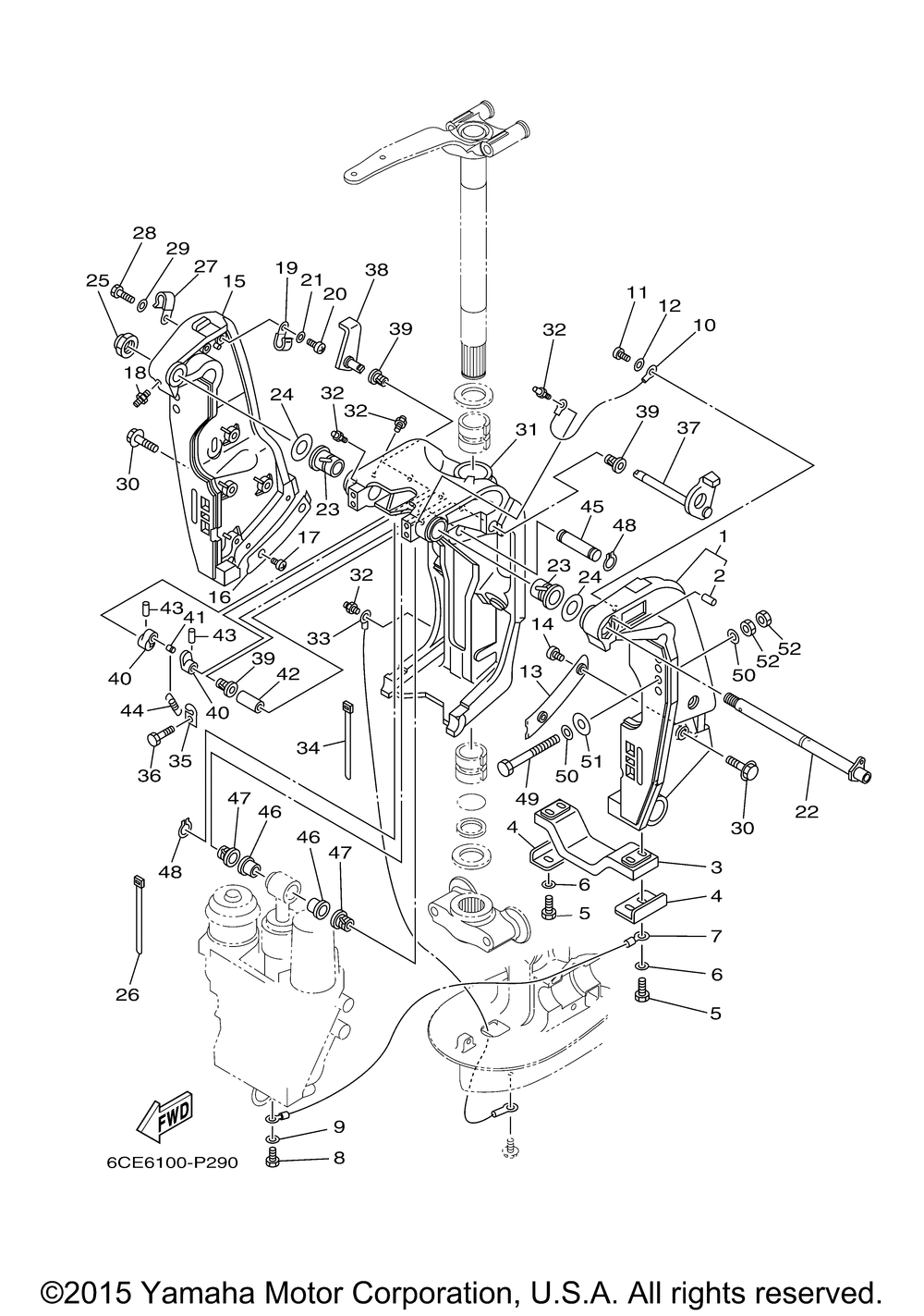
| 1 | BRACKET CLAMP 1 FOR TILT LIMIT | 1 | |
| 2 | PIN DOWEL | 1 | |
| 3 | ANODE | 1 | |
| 4 | PLATE | 2 | |
| 5 | BOLT | 4 | |
| 6 | WASHER (5 per pack) | 4 | |
| 7 | WIRELEAD | 1 | |
| 8 | BOLT | 1 | |
| 10 | WIRELEAD 4 | 1 | |
| 11 | SCREWPAN HEAD | 1 | |
| 13 | WASHER FRICTION 1 | 1 | |
| 14 | SCREWPAN HEAD W/W (5 per pack) | 2 | |
| 15 | BRACKET CLAMP | 1 | |
| 16 | WASHER FRICTION | 1 | |
| 18 | NIPPLEGREASE | 1 | |
| 19 | CLAMP | 1 | |
| 22 | BOLT CLAMP BRACKET FOR TILT LIMIT | 1 | |
| 23 | BUSHSPEC'L NYLON | 2 | |
| 24 | WASHERPLATE | 2 | |
| 25 | NUT SELF-LOCKING | 1 | |
| 26 | CLAMP | 4 | |
| 28 | BOLT | 1 | |
| 30 | BOLT WITH WASHER | 8 | |
| 31 | BRACKET SWIVEL 1 | 1 | |
| 33 | WIRE LEAD 4 | 1 | |
| 35 | HOOK SPRING | 1 | |
| 37 | LEVERTILT STOP | 1 | |
| 38 | LEVERTILT STOP 2 | 1 | |
| 39 | BUSHSPEC'L NYLON (5 per pack) | 3 | |
| 40 | COLLAR DISTANCE | 2 | |
| 41 | PINSPEC'L SHAPE | 1 | |
| 42 | COLLAR | 1 | |
| 43 | PINSPRING | 2 | |
| 44 | SPRING TENSION | 1 | |
| 45 | PIN UPPER SHOCK MOU | 1 | |
| 46 | BUSHSPEC'L NYLON | 2 | |
| 47 | BUSHSPEC'L NYLON | 2 | |
| 48 | CIRCLIP | 2 | |
| 49 | BOLT (L:130MM) (L:130MM) UR | 2 | |
| 49 | BOLT (L:150MM) (L:150MM) | 2 | |
| 50 | WASHERPLATE | 8 | |
| 51 | WASHERPLATE | 4 | |
| 52 | NUT | 8 |
