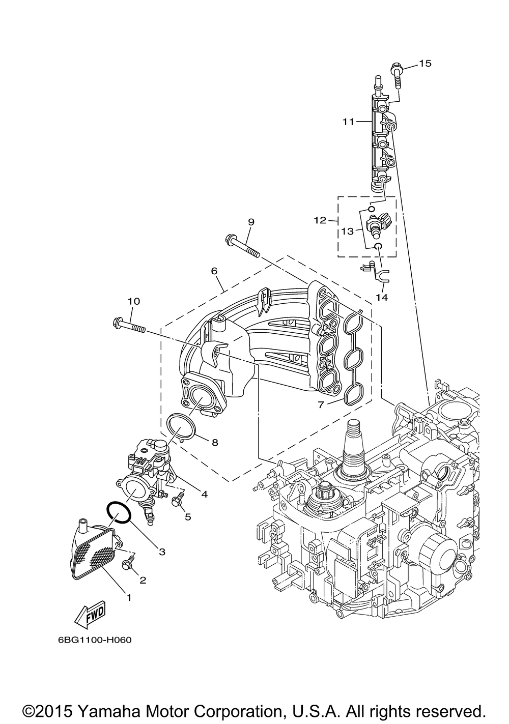
| № | Наименование | Примечание | Кол-во |
|---|---|---|---|
| 1 | SILENCER ASSY INTAK | 1 | |
| 2 | BOLT | 2 | |
| 3 | O-RING | 1 | |
| 4 | THROTTLE BODY ASSY | 1 | |
| 6 | MANIFOLD 1 | 1 | |
| 7 | GASKET MANIFOLD 1 | 1 | |
| 8 | GASKET | 1 | |
| 9 | BOLT WITH WASHER | 4 | |
| 10 | BOLT WITH WASHER | 2 | |
| 11 | PIPE DELIVERY 1 | 1 | |
| 12 | INJECTOR | 3 | |
| 13 | . . ..PACKING KIT | 1 | |
| 14 | CLIP | 3 | |
| 15 | BOLT FLANGE | 2 |
