| № | Наименование | Примечание | Кол-во |
|---|---|---|---|
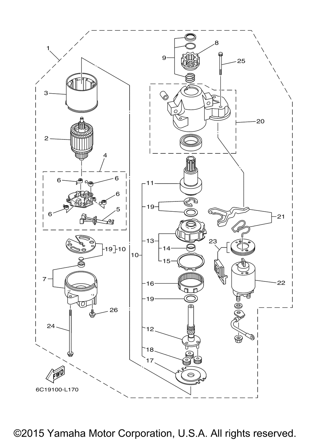
| 1 | STARTING MOTOR ASSY | 1 | |
| 2 | ARMATURE ASSY | 1 | |
| 3 | STATOR ASSY | 1 | |
| 4 | BRUSH HOLDER ASSY | 1 | |
| 5 | BRUSH SET | 1 | |
| 6 | SPRING BRUSH | 4 | |
| 7 | . .REAR BRACKET ASSY | 1 | |
| 8 | . .PINION ASSY | 1 | |
| 9 | . .PINION STOPPER SET | 1 | |
| 10 | . .GEAR ASSY STARTING MOTOR | 1 | |
| 11 | . . ..CLUTCH OVER RUN | 1 | |
| 12 | . . ..SHAFT PINION | 1 | |
| 13 | BRACKET CENTER 1 | 1 | |
| 14 | BEARING | 1 | |
| 15 | GASKET | 1 | |
| 16 | GEAR RING WITH 67F-8183R-00 | 1 | |
| 17 | BRACKET CENTER 2 | 1 | |
| 18 | GEAR IDLER | 3 | |
| 19 | . . ..WASHER KIT | 1 | |
| 20 | . .COVER | 1 | |
| 21 | LEVER ASSY | 1 | |
| 22 | STARTER RELAY ASSY | 1 | |
| 23 | COVER DUST | 1 | |
| 24 | . .BOLT | 2 | |
| 25 | BOLT 2 | 2 | |
| 26 | SCREW | 2 |
