| № | Наименование | Примечание | Кол-во |
|---|---|---|---|
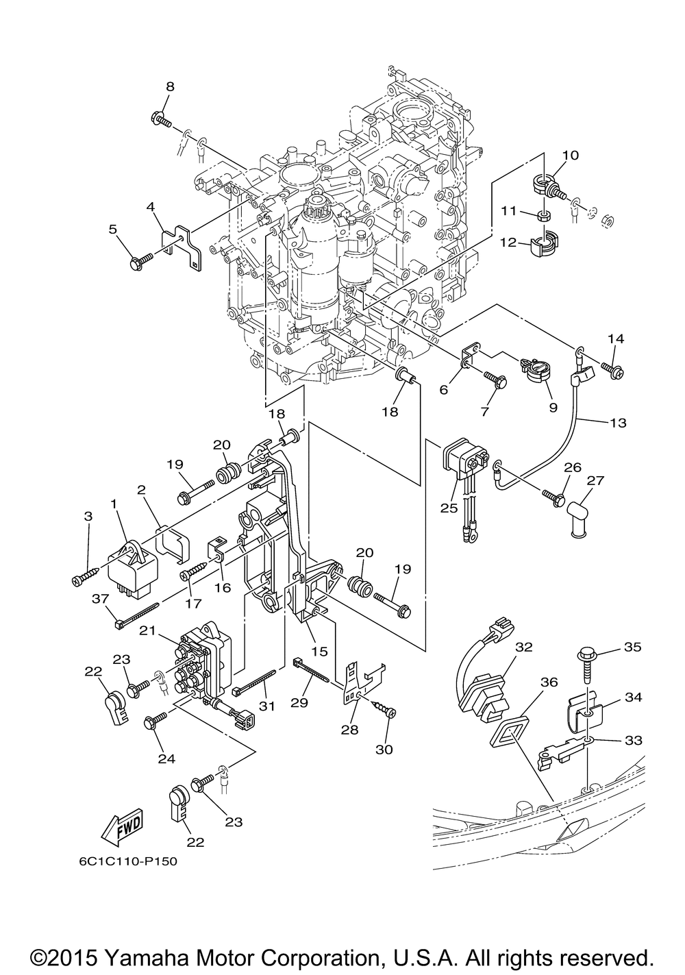
| 1 | RELAY ASSY | 1 | |
| 2 | GROMMET | 1 | |
| 3 | SCREWTAPPING | 1 | |
| 4 | PLATE CONNECTOR | 1 | |
| 5 | BOLT W/WASHER | 1 | |
| 6 | PLATE | 1 | |
| 7 | BOLT WITH WASHER | 3 | |
| 9 | CLAMP(JN2) | 1 | |
| 10 | TERMINAL | 1 | |
| 11 | NUT (USA) | 1 | |
| 12 | COVER WIRE HARNES | 1 | |
| 13 | CORD STARTER MOTOR | 1 | |
| 14 | SCREW WITH WASHER | 1 | |
| 15 | BRACKET | 1 | |
| 16 | HOLDER | 1 | |
| 18 | COLLAR | 4 | |
| 19 | BOLTWITH WASHER | 4 | |
| 20 | DAMPERIGN COIL | 4 | |
| 21 | RELAY ASSY | 1 | |
| 22 | CAP TERMINAL | 2 | |
| 23 | BOLT WITH WASHER | 2 | |
| 24 | BOLT W/WASHER | 2 | |
| 25 | RELAY | 1 | |
| 27 | COVER LEAD WIRE | 2 | |
| 28 | STAY RELAY | 1 | |
| 29 | CLAMP | 1 | |
| 31 | CLAMP | 1 | |
| 32 | TRIM & TILT SWITCH A | 1 | |
| 33 | BRACKET | 1 | |
| 34 | CLAMP | 1 | |
| 35 | BOLT | 2 | |
| 36 | GASKET | 1 |
