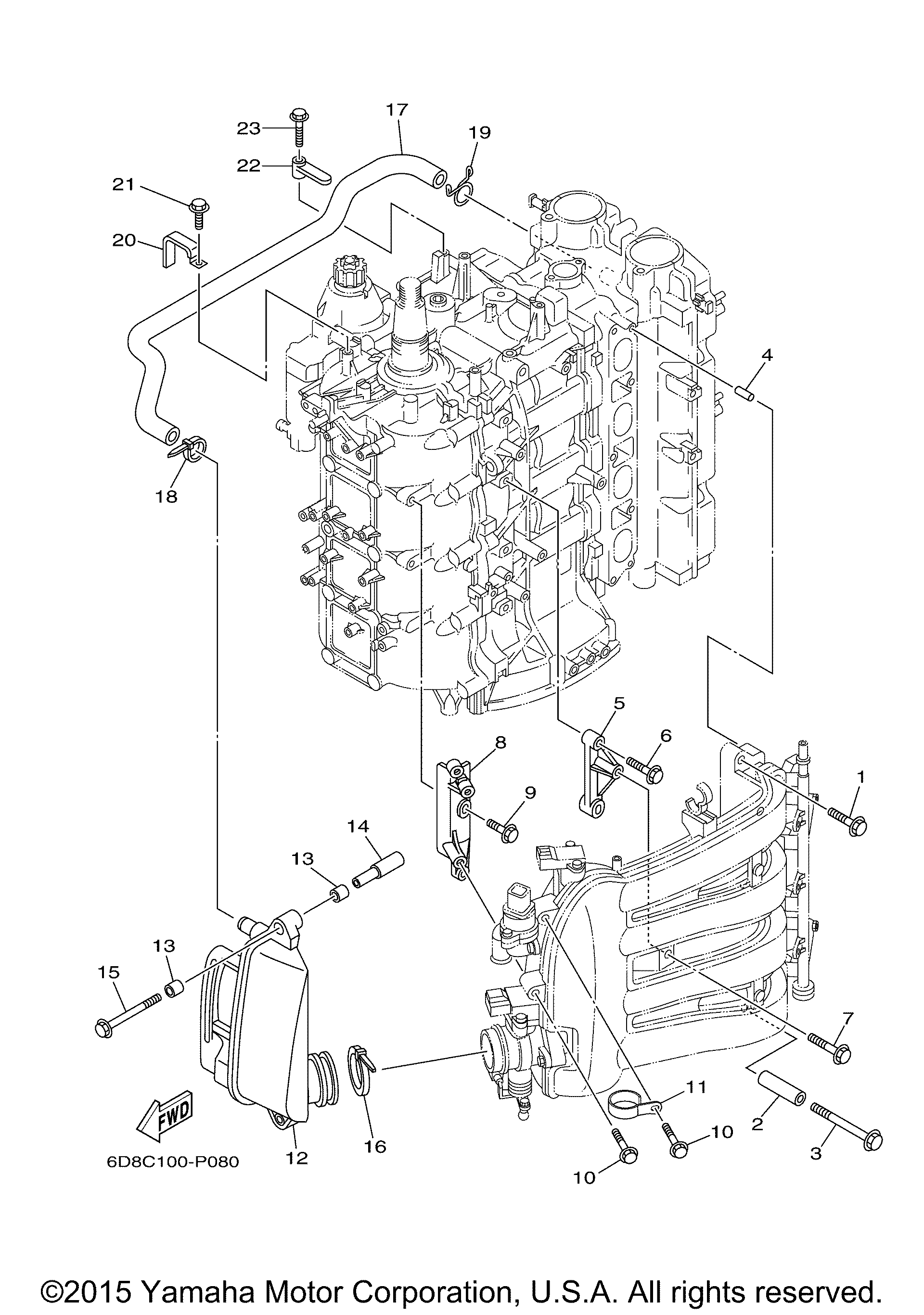
| № | Наименование | Примечание | Кол-во |
|---|---|---|---|
| 1 | BOLT WITH WASHER | 4 | |
| 2 | COLLAR | 1 | |
| 3 | BOLTWITH WASHER | 1 | |
| 4 | PIN SPRING | 2 | |
| 5 | BRACKET 1 | 1 | |
| 6 | BOLT WITH WASHER | 2 | |
| 7 | BOLT WITH WASHER | 1 | |
| 8 | BRACKET 2 | 1 | |
| 9 | BOLT W/WASHER | 2 | |
| 11 | STAY | 1 | |
| 12 | SILENCER ASSY INTAK | 1 | |
| 13 | BUSH | 4 | |
| 14 | COLLAR | 2 | |
| 15 | BOLT WITH WASHER | 2 | |
| 16 | TIE-WRAP | 1 | |
| 17 | PIPE BREATHER | 1 | |
| 18 | CLAMP | 1 | |
| 19 | CLIP | 1 | |
| 20 | CLAMP | 1 | |
| 21 | BOLT W/WASHER (USA) | 1 | |
| 22 | CLAMP | 1 | |
| 23 | BOLT | 1 |
