| № | Наименование | Примечание | Кол-во |
|---|---|---|---|
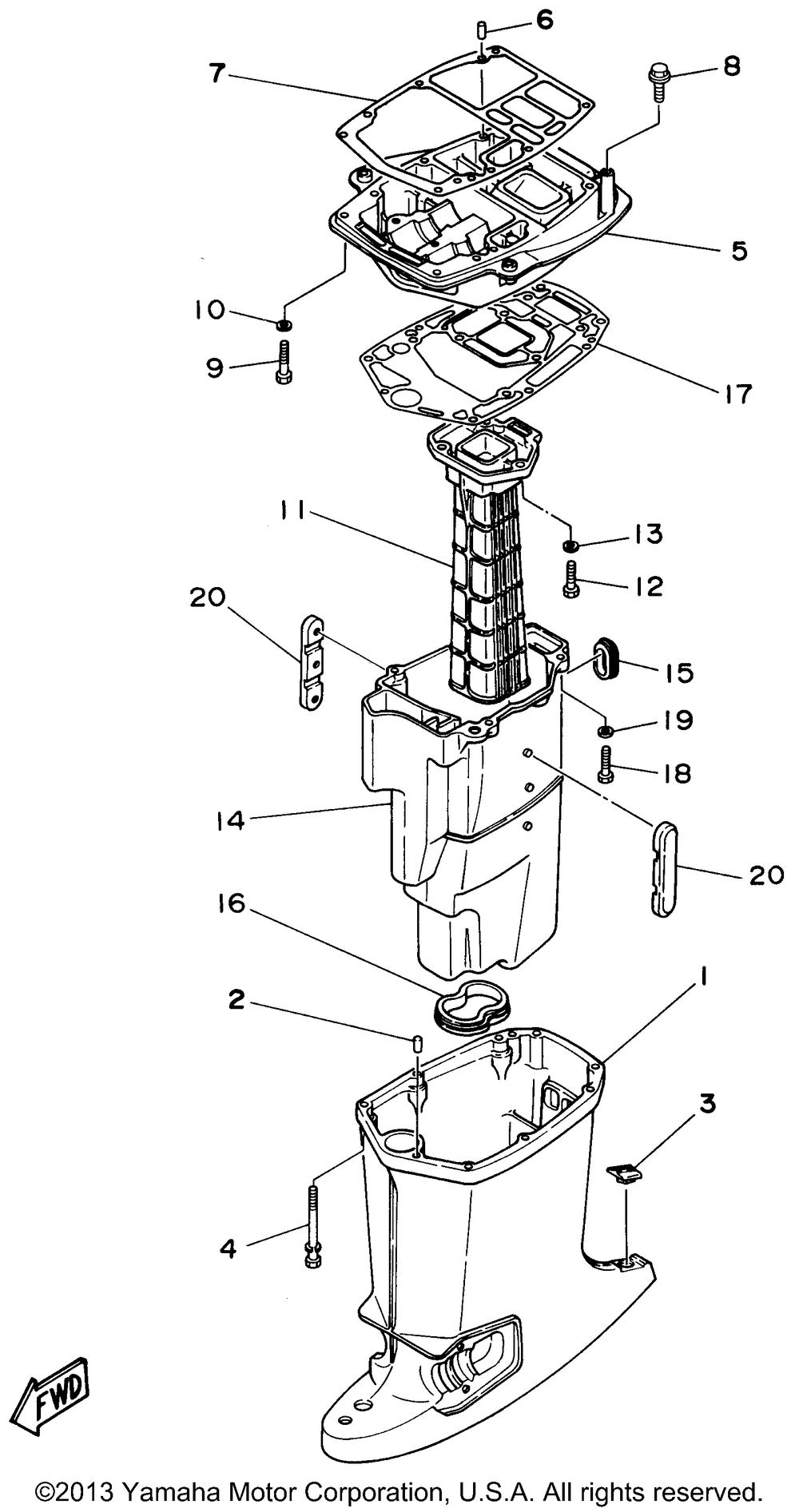
| 1 | CASING UPPER | 1 | |
| 2 | PINDOWEL (USA) (5 per pack) | 2 | |
| 3 | CAP UR L (21.0") | 1 | |
| 4 | BOLT WITH WASHER | 6 | |
| 5 | GUIDE EXHAUST | 1 | |
| 7 | GASKETUPPER CASIN | 1 | |
| 8 | BOLT | 2 | |
| 9 | BOLT | 2 | |
| 10 | WASHERSPRING | 2 | |
| 11 | EXHAUST MANIFOLD 1 UR 60TR | 1 | |
| 12 | BOLT | 3 | |
| 14 | MUFFLER 1 | 1 | |
| 15 | SEAL | 1 | |
| 16 | GASKETMUFFLER | 1 | |
| 17 | GASKETUPPER CASNG | 1 | |
| 20 | DAMPERMUFFLER L(20.5") | 2 |
