| № | Наименование | Примечание | Кол-во |
|---|---|---|---|
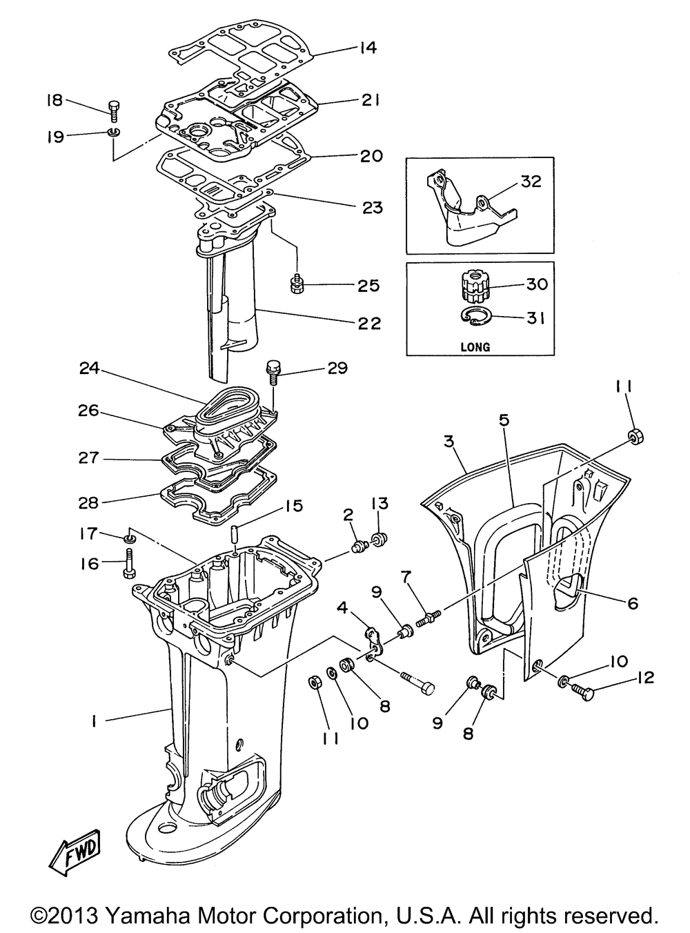
| 1 | CASINGUPPER UR SHORT | 1 | |
| 1 | CASINGUPPER UR LONG | 1 | |
| 2 | STOPPER 1 | 1 | |
| 3 | APRON 1 | 1 | |
| 4 | STAY | 2 | |
| 5 | DAMPER 1 | 2 | |
| 6 | SEALRUBBER | 1 | |
| 7 | BOLT | 2 | |
| 8 | GROMMET | 4 | |
| 9 | COLLAR | 4 | |
| 10 | WASHERPLATE | 4 | |
| 11 | NUT (5 per pack) | 4 | |
| 12 | BOLT (61K) | 2 | |
| 13 | DAMPER 1 | 1 | |
| 14 | GASKET UPPER CASING | 1 | |
| 15 | PINDOWEL | 2 | |
| 16 | BOLT HEX | 8 | |
| 17 | WASHERSPRING | 8 | |
| 18 | BOLT | 3 | |
| 19 | WASHER (5 per pack) | 3 | |
| 20 | GASKET UPPER CASING | 1 | |
| 21 | GUIDE EXHAUST | 1 | |
| 22 | EXHAUST MANIFOLD 1 | 1 | |
| 23 | GASKET EXHAUST MANI | 1 | |
| 24 | SEAL | 1 | |
| 25 | BOLT W/WASHER (5 per pack) | 4 | |
| 26 | PROTECTOR | 1 | |
| 27 | SEAL 2 | 1 | |
| 28 | PLATESEAL DAMPER | 1 | |
| 29 | BOLTWASHER BASED | 4 | |
| 30 | BUSHINGDRIVE SHAF L(21.1") | 1 | |
| 31 | CIRCLIPR-TYPE | 1 | |
| 32 | COVERUPPER CASING UR LONG | 1 | |
| 32 | COVERUPPER CASING UR SHORT | 1 |
