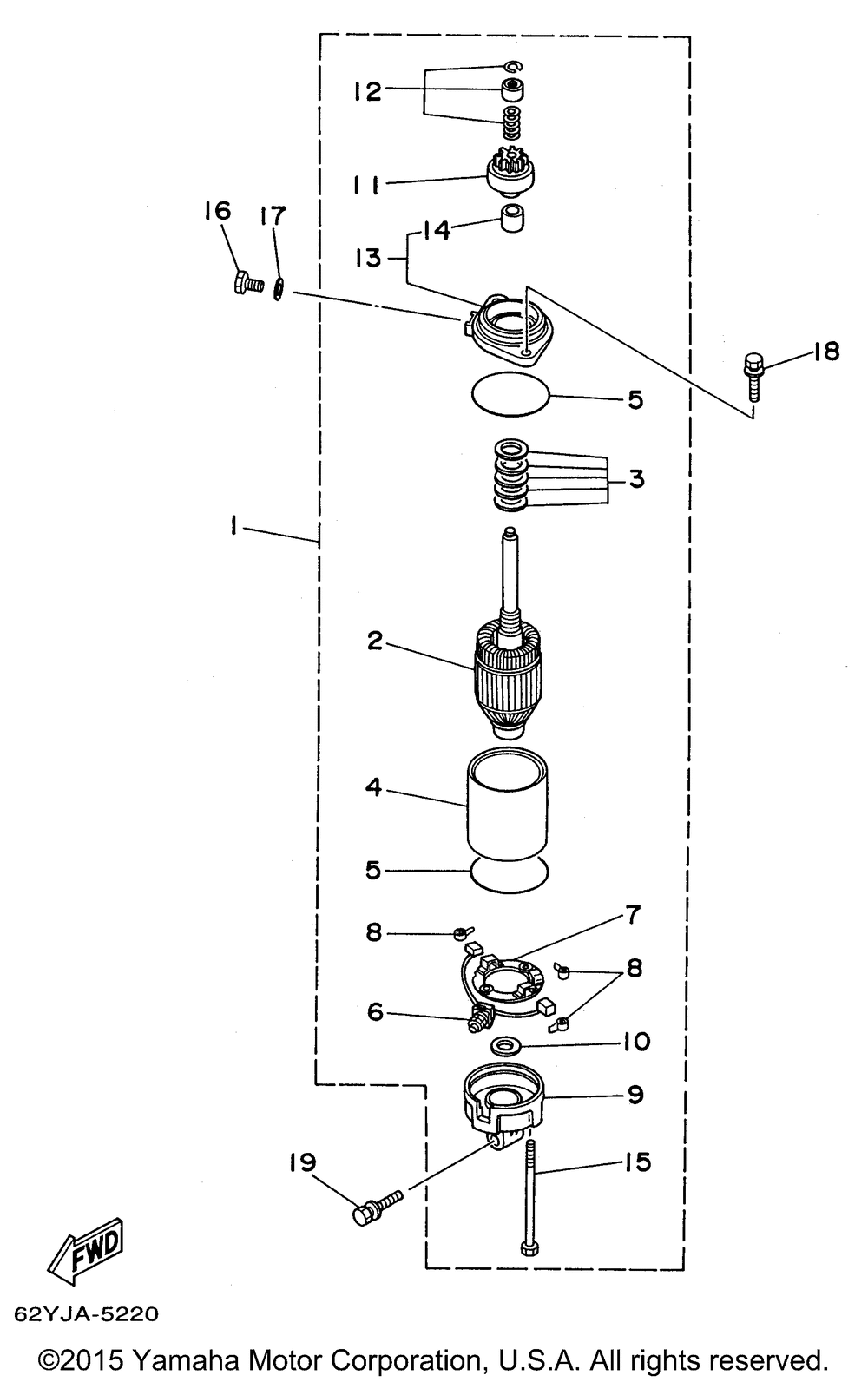
| № | Наименование | Примечание | Кол-во |
|---|---|---|---|
| 1 | STARTING MOTOR ASY | 1 | |
| 2 | ARMATURE ASSY | 1 | |
| 3 | WASHER KIT | 1 | |
| 4 | STATOR ASY | 1 | |
| 5 | O-RING | 2 | |
| 6 | BRUSH SET | 1 | |
| 7 | BRUSH HOLDER ASY | 1 | |
| 8 | SPRINGBRUSH | 3 | |
| 9 | REAR BRACKET ASSY | 1 | |
| 10 | WASHER 2 | 1 | |
| 11 | PINION ASY | 1 | |
| 12 | BEARING | 1 | |
| 13 | FRONT BRACKET ASY | 1 | |
| 14 | METAL FRONT | 1 | |
| 15 | BOLT | 2 | |
| 16 | BOLT | 1 | |
| 17 | WASHER (5 per pack) | 1 | |
| 18 | BOLT WITH WASHER | 2 | |
| 19 | BOLTWITH WASHER | 1 |
