| № | Наименование | Примечание | Кол-во |
|---|---|---|---|
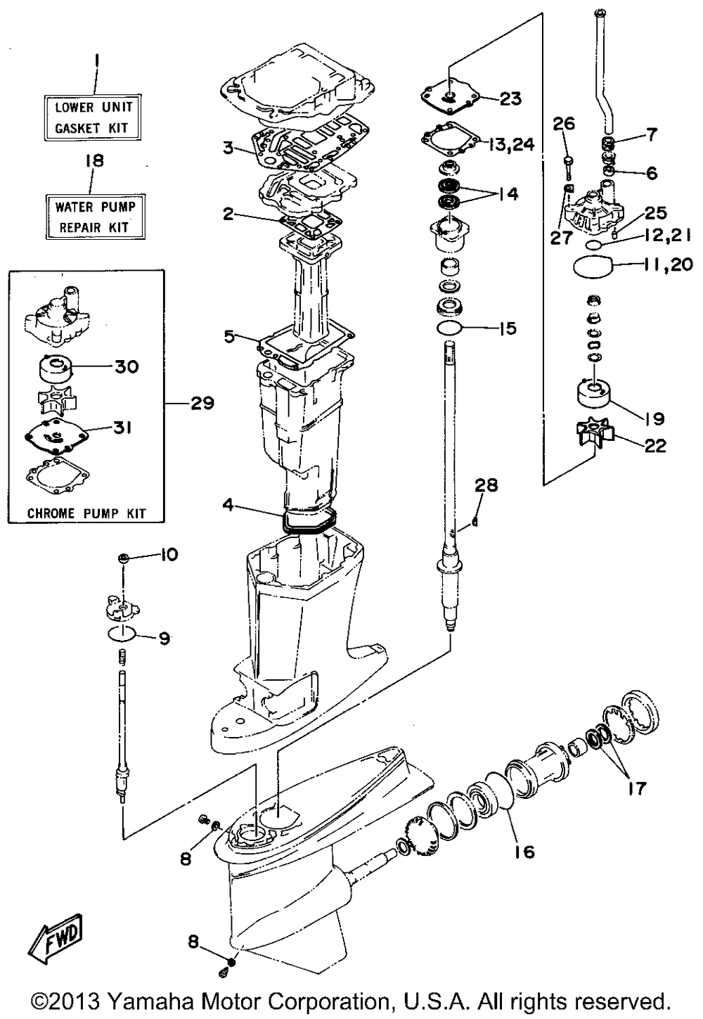
| 1 | GASKET KIT | 1 | |
| 2 | GASKETEXH.MANI.2 | 1 | |
| 3 | GASKET UPPER CASING (115) | 1 | |
| 4 | GASKETMUFFLER | 1 | |
| 5 | GASKETEXH.MANI.3 | 1 | |
| 6 | WATER SEAL | 1 | |
| 7 | WATER SEAL | 1 | |
| 8 | GASKET (USA) | 2 | |
| 9 | O-RING | 1 | |
| 10 | OIL SEALDD-TYPE | 1 | |
| 11 | O-RING | 1 | |
| 12 | O-RING (5 per pack) | 1 | |
| 13 | GASKETWATER PUMP | 1 | |
| 14 | OIL SEALS-TYPE | 2 | |
| 15 | O-RING | 1 | |
| 16 | O-RING | 1 | |
| 17 | OIL SEALS-TYPE | 2 | |
| 18 | WATER PUMP REP.KIT | 1 | |
| 19 | INSERT CARTRIDGE | 1 | |
| 22 | IMPELLER (67N0) | 1 | |
| 23 | OUTER PLATECART. | 1 | |
| 25 | PINDOWEL (USA) (5 per pack) | 1 | |
| 26 | BOLTHEXAGON | 4 | |
| 27 | WASHERSPEC'L SHAPE | 4 | |
| 28 | KEYWOODRUFF | 1 | |
| 29 | WATER PUMP REP.KIT | 1 | |
| 30 | INSERT CARTRIDGE | 1 | |
| 31 | OUTER PLATECART. | 1 |
