| № | Наименование | Примечание | Кол-во |
|---|---|---|---|
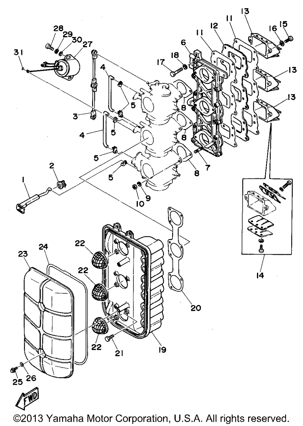
| 1 | ROD CHOKE 1 | 1 | |
| 2 | GROMMET | 1 | |
| 3 | RODACCEL.LEVER | 1 | |
| 4 | RODCHOKE 2 | 2 | |
| 5 | JOINTCHOKE LEVER | 5 | |
| 6 | MANIFOLD 1 | 1 | |
| 7 | BOLTSTUD | 6 | |
| 8 | GASKET | 3 | |
| 9 | WASHER (5 per pack) | 6 | |
| 10 | NUT SELF-LOCKING | 6 | |
| 11 | GASKET VALVE SEAT | 2 | |
| 12 | PLATEREED VALVE | 1 | |
| 13 | REED VALVE ASY | 3 | |
| 13 | REED VALVE ASSY | 3 | |
| 14 | REED SET | 3 | |
| 14 | REED SET | 3 | |
| 15 | SCREWPAN HEAD | 6 | |
| 16 | WASHERSPRING (5 per pack) | 6 | |
| 17 | BOLT | 12 | |
| 19 | COVER 1 | 1 | |
| 20 | GASKET | 1 | |
| 21 | BOLT HEX | 6 | |
| 22 | CAPCARBURETOR | 3 | |
| 23 | COVER 2 | 1 | |
| 24 | GASKETAIR CLEANER | 1 | |
| 25 | BOLT | 2 | |
| 26 | WASHERSPEC'L SHAP | 2 | |
| 27 | SOLENOID | 1 | |
| 28 | SCREW PAN | 2 | |
| 30 | WASHER (5 per pack) | 2 | |
| 31 | O-RING | 1 |
