| № | Наименование | Примечание | Кол-во |
|---|---|---|---|
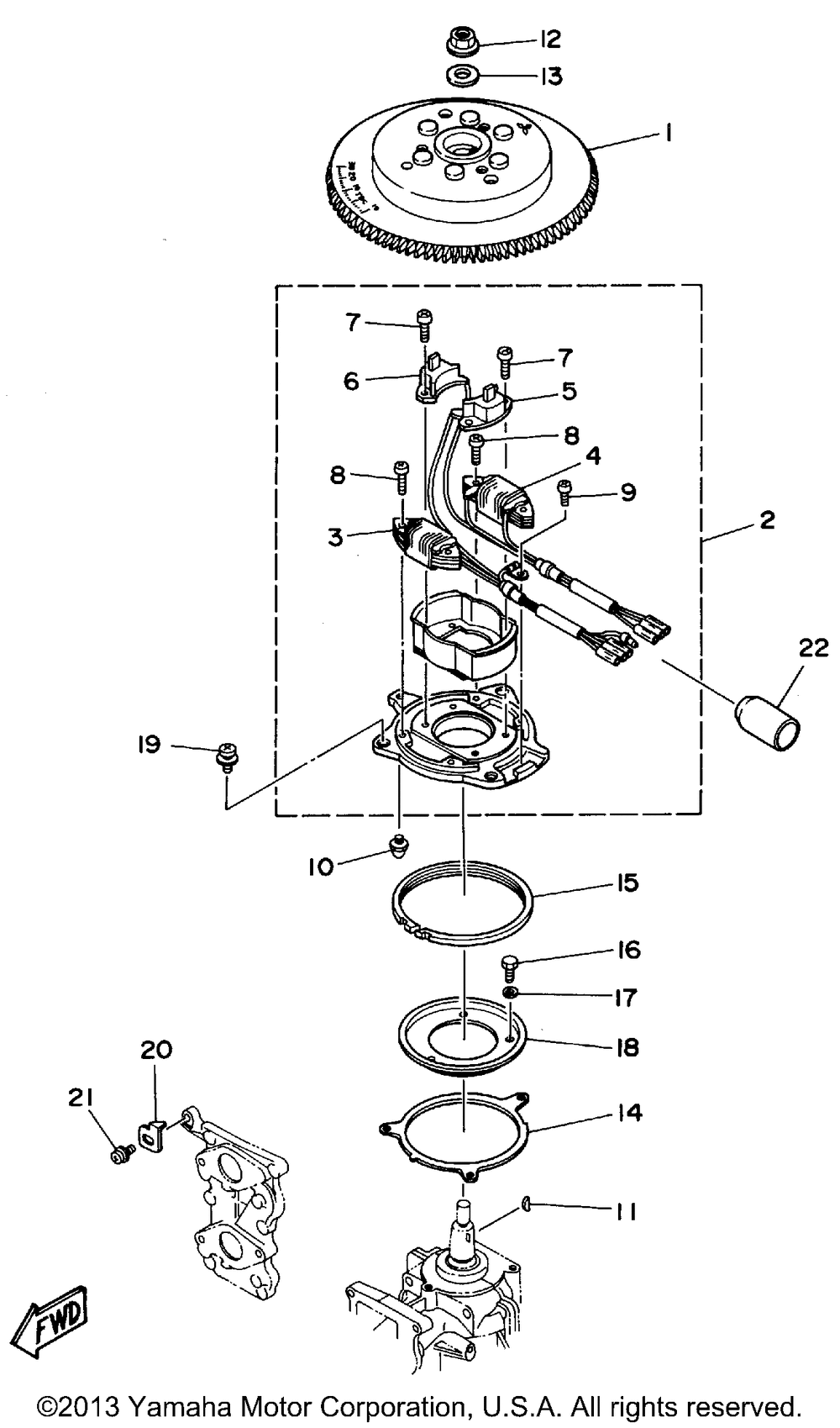
| 1 | ROTOR ASSY EH/ER | 1 | |
| 2 | BASE ASSY. | 1 | |
| 3 | COIL CHARGE (25MH) | 1 | |
| 4 | COIL LIGHTING | 1 | |
| 5 | COIL PULSER | 1 | |
| 7 | SCREWPAN HEAD | 4 | |
| 8 | SCREWPAN HEAD | 4 | |
| 9 | SCREWPAN HEAD | 1 | |
| 10 | JOINTBALL | 1 | |
| 11 | KEY WOODRUFF | 1 | |
| 12 | NUTSPEC'L SHAPE | 1 | |
| 13 | WASHERPLATE | 1 | |
| 14 | RETAINERMAGNETO | 1 | |
| 15 | PLATEBASE FRICTN. | 1 | |
| 16 | BOLT | 3 | |
| 17 | WASHER (5 per pack) | 3 | |
| 18 | RETAINER MAGNETO BASE | 1 | |
| 19 | SCREWW/WASHER | 3 | |
| 20 | PLATETIMING | 1 | |
| 22 | COVER CONNECTOR | 1 |
