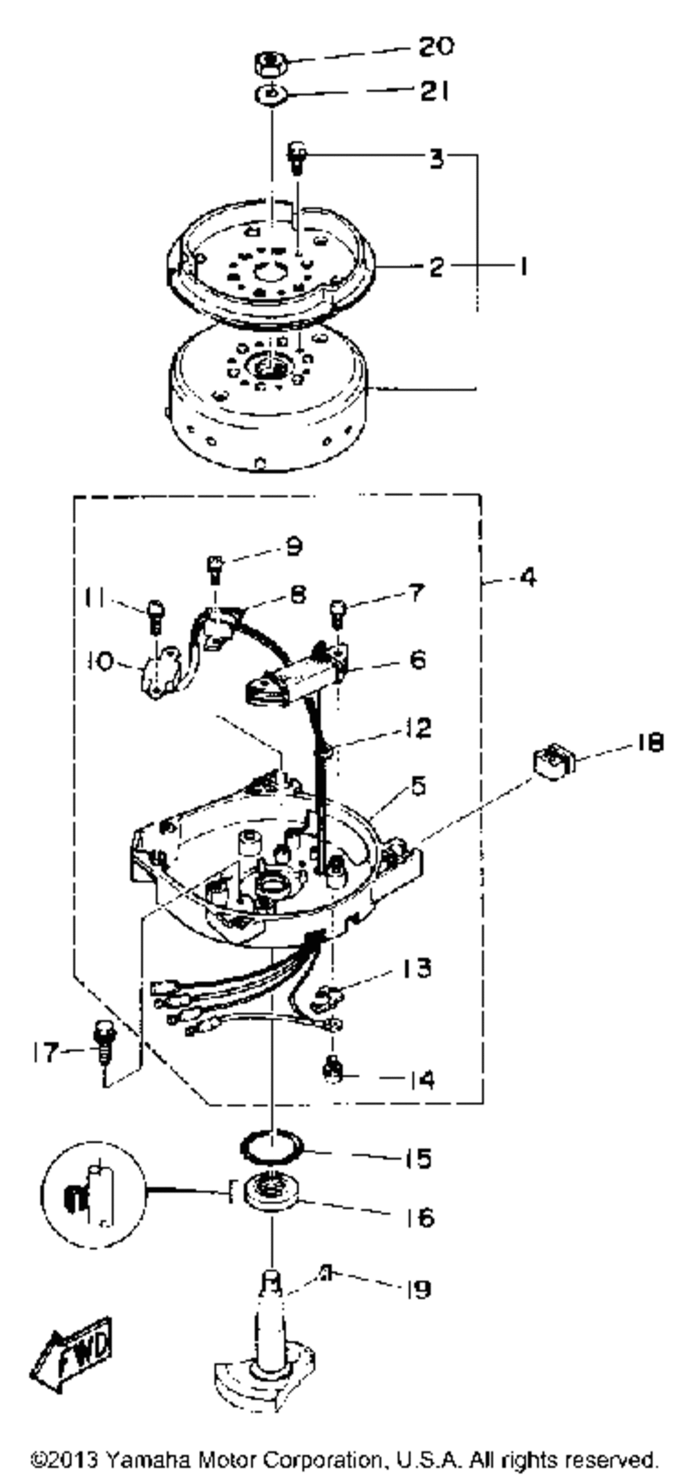
| № | Наименование | Примечание | Кол-во |
|---|---|---|---|
| 1 | ROTOR ASY (5MH) | 1 | |
| 2 | PULLEYSTARTER (5MH) | 1 | |
| 3 | BOLTWASHER BASED AP | 3 | |
| 4 | BASE ASSY (5MH) | 1 | |
| 5 | HOUSING OIL SEAL (5MH) | 1 | |
| 6 | COILCHARGE (3MH) | 1 | |
| 7 | SCREWWITH WASHER (3MH) | 2 | |
| 8 | COILPULSER ASSY 2 (5MH) | 1 | |
| 9 | SCREWWITH WASHER (3MH) | 2 | |
| 10 | COILPULSER ASSY 1 (5MH) | 1 | |
| 11 | SCREWW/WASHER (3MH) | 2 | |
| 12 | GROMMET (3MH) | 1 | |
| 13 | CLAMP (3MH) | 1 | |
| 14 | SCREWWITH WASHER (3MH) | 1 | |
| 15 | O-RING | 1 | |
| 16 | . OIL SEAL | 1 | |
| 17 | BOLT | 2 | |
| 18 | DAMPERLOCATING 3 (5MH) | 2 | |
| 19 | KEY WOODRUFF | 1 | |
| 20 | NUTHEXAGON | 1 | |
| 21 | WASHERPLATE | 1 |
