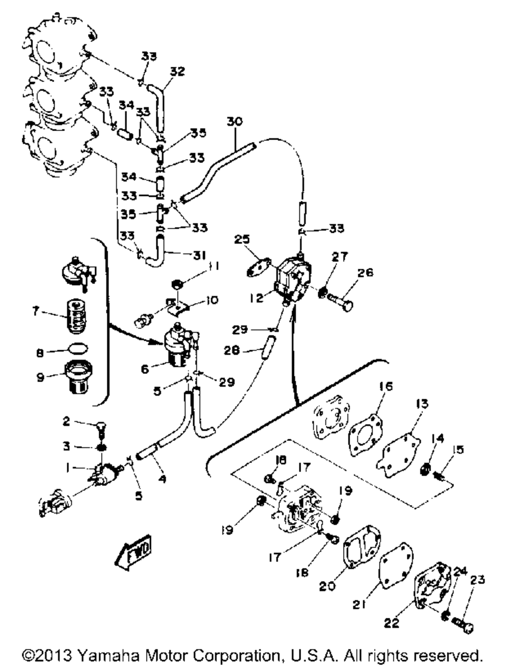
| № | Наименование | Примечание | Кол-во |
|---|---|---|---|
| 1 | FUEL PIPE JOINT COMP | 1 | |
| 2 | BOLT(7U8) (5 per pack) | 1 | |
| 3 | WASHER (5 per pack) | 1 | |
| 4 | HOSE (L300) | 1 | |
| 5 | CLIPSCISSOR | 2 | |
| 6 | FILTER ASSY | 1 | |
| 7 | ELEMENTFILTER | 1 | |
| 8 | O-RING (5 per pack) | 1 | |
| 9 | CUPFILTER | 1 | |
| 10 | BRACKET FILTER | 1 | |
| 11 | NUT HEX. | 1 | |
| 12 | FUEL PUMP ASY | 1 | |
| 13 | DIAPHRAGM | 1 | |
| 14 | SEATSPRING | 1 | |
| 15 | SPRINGDIAPHRAGM | 1 | |
| 16 | GASKET BODY | 1 | |
| 17 | VALVECHECK | 2 | |
| 18 | SCREWPAN HEAD | 2 | |
| 19 | NUT (5 per pack) | 2 | |
| 20 | GASKETBODY 2 | 1 | |
| 21 | DIAPHRAGM | 1 | |
| 22 | BODY 2 | 1 | |
| 23 | SCREWPAN HEAD | 3 | |
| 24 | WASHERSPRING (5 per pack) | 3 | |
| 25 | GASKETFUEL PUMP 1 | 1 | |
| 26 | BOLT (682) (5 per pack) | 2 | |
| 28 | PIPE 4 | 1 | |
| 30 | HOSE (L250) | 1 | |
| 31 | PIPE 2 | 1 | |
| 32 | PIPE 2 | 1 | |
| 34 | HOSE (L30) | 2 | |
| 35 | PIPEJOINT 4 | 2 |
